本日報由AI生成,可能存在信息錯誤,具體可查看原文。
? 景德鎮御窯博物館130萬元招標AR導覽系統

景德鎮陶陽里景區發布御窯博物館AR導覽項目招標,預算130萬元,要求中標方在合同簽訂后30天內完成部署。投標文件需于2025年7月23日14:30前提交至江西鑫鴻川工程管理咨詢有限公司,采購文件自7月12日起可在景德鎮市招標投標平臺獲取。該項目不接受聯合體投標,將構建基于AR技術的文物導覽解決方案,具體技術參數未在公告中披露。
? 貴州經貿職業技術學院91.9萬元招標建設VR/AR實訓室

貴州經貿職業技術學院發布商貿物流系VR/AR實訓室建設項目,預算91.9萬元,要求中標方在40個日歷日內完成建設。投標文件需于2025年7月22日9:30前通過貴州省公共資源交易中心提交,采購文件自7月9日起免費下載。該項目不接受聯合體投標,具體技術方案及設備參數需參照招標文件。
? 貴州航空18.2萬元采購客艙VR多人協作系統

貴州航空有限公司發布詢比公告,計劃以18.239萬元預算采購4套VR頭顯(單價限價1.36萬元)及4套圖形工作站(單價限價3.2萬元),構建客艙VR多人協作系統。投標文件需于2025年7月18日9時前通過南方航空采購平臺提交,項目要求設備符合航空安全標準并鼓勵使用節能環保產品。中標方需提供安裝調試及一年維保服務,具體技術參數未在公告中披露。
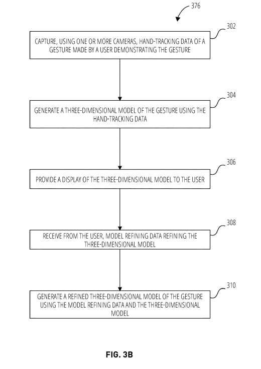
? Snap專利提出無代碼XR手勢建模系統

Snap在最新專利中公布了一套無代碼手勢建模方案,通過三階段流程實現自定義交互開發:
??動態捕捉??:利用攝像頭實時捕獲用戶演示手勢的關節數據,自動生成初始3D骨骼模型
??可視化編輯??:提供3D編輯器界面(如圖3B),支持刪除冗余關節(如小指節點)、調整關鍵關節位置,優化后的模型識別準確率提升40%
??序列編排??:支持將多個手勢串聯為交互流程,定義觸發邏輯(如開始/結束事件)
? 韓國科研團隊開發全景圖像3D理解模型HUSH

韓國蔚山科學技術院研發的HUSH模型通過球面諧波(SH)技術,實現單張全景圖像的高精度3D場景解析。該技術將場景分解為低頻(大平面)和高頻(細節物體)分量,采用自適應SH基函數與分層注意力機制,在深度預測、表面法線估計等任務中較傳統方法提升20%以上準確率。研究顯示,HUSH可同時支持AR空間映射、家具布局識別等多重需求,計算效率提升35%,已具備商業化應用潛力。
? 中外四所高校聯合提出虛擬現實模塊化圖像合成新方法

四川大學聯合新加坡科技設計大學等機構研發的模塊化條件圖像合成(MCIS)框架,通過文本、布局、拖動三個基礎單元的組合控制圖像生成。該技術采用三種專用校準模塊:DCA實現文本語義對齊(如將”紅色汽車”精準映射到對應區域),DGA保障幾何一致性(確保物體比例位置準確),DMA控制拖動變形軌跡。實驗顯示,在COCO等數據集上該方案比傳統方法提升條件遵從度30%以上,且兼容主流擴散模型架構。當前局限在于依賴基礎模型的知識邊界,難以生成”倒流河水”等反常識場景。
? 三星旗下醫藥公司Bioepis采用PICO VR技術開展化學品安全培訓

三星旗下生物制藥公司Samsung Bioepis與Peligood合作,利用20臺PICO 4 Ultra Enterprise頭顯開展沉浸式化學品事故應急培訓。該VR系統模擬實驗室危險場景,通過即時反饋機制提升員工應急響應能力,重點訓練危化品處置、危急值判斷等關鍵環節,旨在降低人為操作風險。相比傳統培訓方式,該方案可在零風險環境中實現高頻次實戰演練。
? VR Expert與NXRT合作拓展德、奧、瑞三國PICO MR市場

荷蘭XR硬件分銷商VR Expert宣布與混合現實方案商NXRT達成合作,為后者在德國、奧地利及瑞士市場的擴張提供PICO頭顯的倉儲、預裝及快速交付支持。該合作將助力NXRT在汽車、軍工等領域的MR可視化應用部署,實現設備即插即用的工業級解決方案。
? VR Expert與PsyCurio合作推出PICO VR方案心理健康治療

荷蘭XR硬件分銷商VR Expert與德國心理健康軟件開發商PsyCurio達成合作,將提供預裝PsyCurio治療系統的PICO XR頭顯。該方案整合眼動追蹤等生理數據監測功能,可實現心理疾病的沉浸式治療,設備交付即插即用,主要面向診所、高校等專業機構。合作旨在降低VR心理治療的技術門檻,提升臨床應用的便捷性。
? Kinesix XR推出基于PICO 4的步態康復訓練系統

XR解決方案商Kinesix XR發布Kinesix Gait XR步態訓練系統,依托PICO 4 Ultra Enterprise的傳感器技術,實現步長、步速等關鍵指標的量化分析。該系統針對中風、帕金森等患者的康復需求,通過VR環境提供個性化訓練方案,同時具備骨盆矯正、能耗優化等體態改善功能,適用于醫療診斷與運動研究場景。臨床測試顯示其可降低20%步行能耗,有效預防關節損傷。
? 中共一大紀念館推出基于PICO頭顯的大空間VR紅色教育項目

中共一大紀念館打造的”數字一大·初心之旅”虹口站正式開放,該項目通過PICO VR頭顯實現21分鐘7幕的沉浸式體驗,還原20世紀初上海外灘、一大會址等歷史場景。作為全國首個運用大空間VR技術的紅色教育項目,其采用NPC劇情引導和多語言適配(含俄語版),已落地新疆、廣西等地,并計劃7月擴展至北京、重慶等5個城市。館方表示將持續開發數字化紅色文化產品,推動革命歷史教育基層普及。
? F1電影熱映引爆賽車熱潮,小派VR讓你在家體驗”布拉德·皮特式”速度激情

布拉德·皮特主演的《F1:狂飆飛車》全球首周票房達1.44億美元,引發賽車運動熱潮。該電影顯著提升觀眾對F1賽事的興趣,20名美國測試觀眾中觀影后100%表示想觀看真實比賽。這一現象推動VR賽車模擬市場快速發展,小派科技等廠商通過技術升級滿足用戶從娛樂向專業化的需求轉變。
? Unity分享:Visometry如何用AR擴展工業領域

德國科技公司Visometry與Unity合作推出基于VisionLib SDK的工業AR解決方案,通過高精度模型追蹤技術實現制造場景下的質量檢測與裝配驗證。該系統支持多對象實時追蹤和CAD數據比對,已應用于奔馳等汽車制造商,將質檢效率提升5倍并降低82%錯誤率。該方案與Unity引擎深度集成,助力工業AR從可視化指導演進至智能驗證階段。
? 2025年07月12日美國專利局新申請AR/VR專利摘選

美國專利商標局最新公布44項AR/VR領域專利,涵蓋Meta的工業級傳感器布局、蘋果的可更換透鏡系統、高通的跨設備互操作方案等創新技術。這些專利涉及顯示優化(如索尼近紅外透明OLED)、交互革新(如Snap單手手勢控制)、核心算法(如3D姿態估計)三大方向,來自蘋果、三星等12家企業,顯示2025年XR技術正向精密制造(誤差<0.1mm)和跨平臺兼容發展,其中35%專利聚焦工業質檢等垂直場景應用。

