一共更新了41篇專利。
(中國AI網 2025年07月26日)近期美國專利及商標局公布了一批全新的AR/VR專利,以下是映維網的整理(詳情請點擊專利標題),一共41篇。更多專利披露請訪問映維網專利板塊https://patent.nweon.com/進行檢索,你同時可以加入映維網AR/VR專利交流微信群(詳見文末)。
1. 《Meta Patent | Saccade contingent reduced resolution rendering(Meta專利:掃視條件下分辨率降低渲染)》

在一個實施例中,專利描述的設備基于掃視檢測來實現渲染質量的調整,以節省計算和功率資源。在示例中,眼動追蹤系統包括用于呈現內容的顯示器、用于捕獲用戶視線的眼動追蹤設備、以及用于管理顯示器和眼動追蹤系統的控制器。控制器可以基于捕獲用戶視線的變化來檢測掃視,在掃視后窗口的持續時間內降低渲染內容的渲染質量;并在掃視后窗口完成時提高渲染質量。
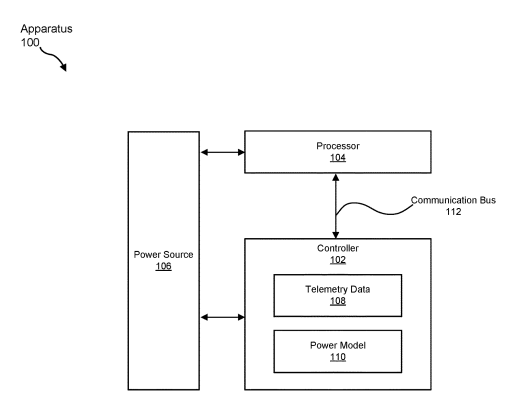
2. 《Meta Patent | Apparatus, system, and method for regulating power consumption of processors based on telemetry data(Meta專利:基于遙測數據調節處理器功耗的裝置、系統和方法)》

......(全文 7363 字,剩余 7026 字)
請微信掃碼通過小程序閱讀完整文章或者登入網站閱讀完整文章
映維網會員可直接登入網站閱讀
PICO員工可聯系映維網免費獲取權限

