本日報由AI生成,可能存在信息錯誤,具體可查看原文。

? 蘋果AR/VR計算機視覺處理電路專利提出雙模圖像處理系統架構

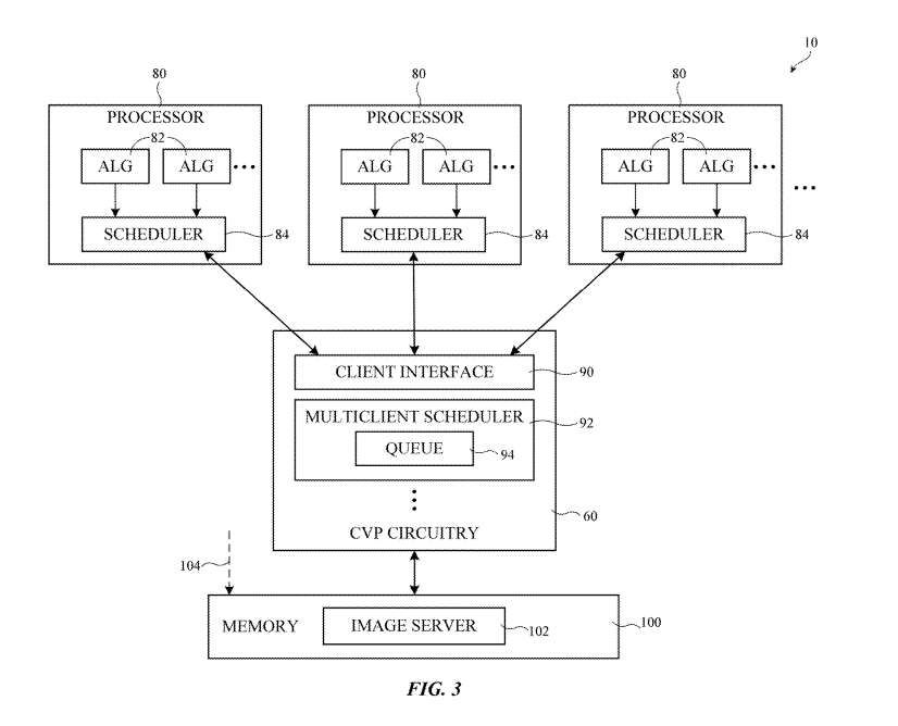
蘋果公司申請了一項關于AR/VR頭顯計算機視覺處理電路的專利,該專利提出了一種雙模圖像處理系統架構。系統包含低功耗計算機視覺處理電路(CVP)和高畫質處理管道(HQ)兩個獨立功率域,CVP負責基礎圖像處理和計算機視覺任務,HQ僅在需要顯示時激活進行高畫質渲染。專利還詳細描述了多客戶端調度機制,通過優先級管理、請求合并和圖像復用等技術優化處理效率,同時采用共享內存架構減少重復圖像捕獲,整體設計旨在平衡AR/VR設備的視覺處理性能和功耗控制。
? 天津泰達航母195萬元采購全感VR大空間體驗設備

天津濱海泰達航母旅游集團股份有限公司發布《絕地穿越》全感VR大空間體驗設備采購招標,項目預算195.16萬元,要求8月31日前完成安裝調試。投標人需具備獨立法人資格和特效設備采購能力,需提供2024年度審計報告及社保繳納證明。招標文件需現場報名獲取,投標截止時間為8月11日,中標方需在合同簽訂后完成設備交付及安裝調試工作。項目明確拒絕失信企業參與,且不接受聯合體投標。
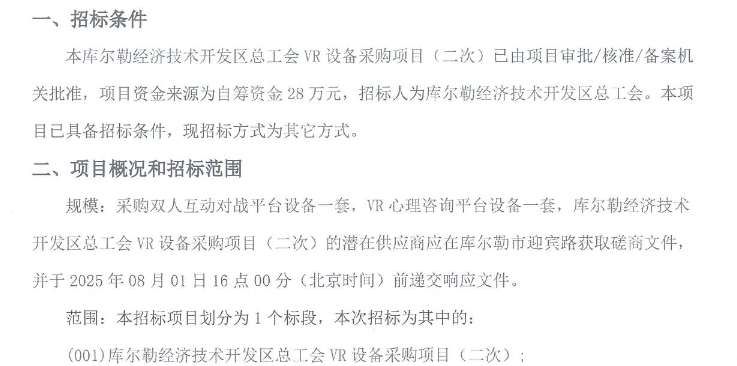
? 庫爾勒經濟技術開發區總工會28萬元采購VR設備

庫爾勒經濟技術開發區總工會發布二次招標公告,計劃以28萬元自籌資金采購VR設備,包括雙人互動對戰平臺和心理咨詢平臺各一套。投標人需在2025年8月1日前提交響應文件,項目要求20天內完成設備安裝。招標文件需線下購買,售價300元/套,明確拒絕失信企業參與投標。本次采購不接受聯合體投標,中標方需提供完整的設備及安裝服務。
? 山東能源新疆分公司招標采購VR警示教育系統

山東能源集團物資有限公司新疆分公司發布2025年VR警示教育系統采購招標公告,項目預算為自籌資金,要求投標方具備相關資質和2022年以來業績證明。招標內容包含VR系統硬件及配套服務,技術標準需達到或超過參考品牌要求,采用6個月期銀行電子承兌匯票分階段付款。投標文件需通過”中國礦用物資網”平臺提交,截止時間為2025年8月11日,中標方需提供13%增值稅發票并承擔運輸費用。該項目不接受聯合體投標,目前處于資格后審階段。
? 上海發布2026-2030年下一代顯示產業發展行動方案,重點布局智能眼鏡、Micro LED、硅基OLED等

上海市經信委印發《上海市下一代顯示產業高質量發展行動方案(2026-2030年)》,重點布局智能眼鏡、Micro LED、硅基OLED等下一代顯示技術。方案提出構建”1+2+3+4”產業體系,計劃到2030年實現顯示產業國際先進水平。核心內容包括:以智能眼鏡帶動AR/MR終端創新,重點突破Micro LED和硅基OLED關鍵技術,培育全息顯示等前沿方向,完善光波導、顯示芯片等核心環節配套能力。同時將通過AI賦能、產業集群建設、政策支持等措施,打造具有全球競爭力的顯示產業生態。
? 澳大利亞研究團隊開發低成本液體AR波導3D打印方案

澳大利亞研究團隊提出了一種創新的AR液體波導制造方法,采用硅油介質和PolyJet 3D打印技術,顯著降低了傳統幾何波導的生產復雜度。該方案通過水溶性支撐材料減少表面瑕疵,并利用液體自修復特性提升光學系統可靠性,同時避免了傳統制造中的反射器彎曲問題。研究團隊還開發了自動化組裝系統,使波導在形狀、尺寸和材料屬性上具備更高靈活性。這項發表在《Nature》子刊的技術,為AR設備研發提供了快速迭代、成本可控的新型解決方案。
? 漢莎集團旗下布魯塞爾航空試點A320飛行員VR培訓項目

漢莎集團旗下布魯塞爾航空宣布啟動A320機型飛行員VR培訓試點項目,這是其與空客兩年多戰略合作的成果。該項目首次將VR技術作為傳統訓練設備的替代方案,提供無教練監督的沉浸式3D駕駛艙訓練環境。試點成功后,該VR培訓系統將逐步推廣至漢莎集團其他培訓中心,并計劃擴展至A330、A350等更多機型。此舉是漢莎集團在航空培訓領域推動數字化轉型的重要一步。
? 《廢墟法師》將用PICO體感追蹤器實現逼真全身追蹤體驗

CharacterBank宣布將為PICO平臺的VR角色扮演游戲《廢墟法師》新增下半身追蹤支持,玩家可通過PICO體感追蹤器體驗更完整的身體映射。這款日式RPG游戲以魔法世界為背景,玩家可使用多種魔法組合進行戰斗,并配有劇情、迷宮等傳統RPG元素。此次更新是繼2022年游戲發布后的重要功能升級,旨在利用PICO 4 Ultra硬件提升沉浸感。此前PICO平臺《進擊的巨人》已實現類似功能。
? 夏普推出VR觸覺控制器原型,但缺乏手指追蹤、力反饋等

夏普宣布在日本發布一款具備多段觸覺元件的VR控制器原型,該設備通過指尖觸覺反饋模擬不同紋理質感(如光滑、粗糙),但暫不支持力反饋或溫度模擬。原型保留了傳統控制器的搖桿和按鈕布局,目前處于演示實驗階段,尚未確定商業化計劃。作為Meta Quest 2曾用顯示器供應商,夏普在XR領域持續探索,此前還與NTT Docomo合作推出過AR眼鏡MiRZA。
? Ready at Dawn創始人稱VR行業缺乏開發者創新

Ready at Dawn聯合創始人魯·維拉蘇里亞在接受采訪時表示,VR行業發展緩慢的主要原因是開發者更傾向于迎合玩家需求而非推動創新。他回顧了工作室被Meta收購后又因戰略調整關閉的經歷,透露團隊曾計劃開發革命性VR游戲但因資源不足擱淺。盡管對VR的沉浸感優勢仍持樂觀態度,其新成立的工作室Atlantis Studio尚未公布是否繼續涉足VR領域。
? 蘋果推送visionOS 26開發者預覽版23M5300g更新

蘋果推送了visionOS 26開發者預覽版的新Beta更新(版本號23M5300g),已注冊開發者可通過設備設置啟用測試版選項進行下載,蘋果建議安裝前備份數據。更新同時支持Xcode的visionOS模擬器測試,但需開發者賬號權限。
? Godot引擎發布OpenXR插件v4版本更新

Godot引擎團隊發布了OpenXR Vendors Plugin的v4.0.0和v4.1.0版本更新,重點優化了VR/MR開發支持。v4.0.0轉向Khronos標準加載器,新增Meta動態分辨率功能和混合應用開發支持,并允許開發者按需啟用OpenXR擴展。v4.1.0進一步引入Meta全身追蹤、Application SpaceWarp(半幀渲染技術)和環境深度功能,提升AR/MR場景的真實感。此外,插件體積縮減近90%,并修復多項問題,部分新功能需Godot 4.5及以上版本運行。

