修正谷歌AR眼鏡使用Raxium MicroLED技術的判斷
(中國AI網 2025年07月30日)近眼顯示技術專家Karl Guttag早前曾表示,谷歌的AR眼鏡使用了Avegant的LCOS光引擎。不過,他發現這一論述并不正確,并撰文進行了介紹,同時補充了更多的信息和說明:

引言:修正谷歌AR眼鏡使用Raxium MicroLED技術的判斷
正如我常說,很少有人會主動提供信息,但出錯時會有很多人糾正你。這就是我在分析推測谷歌XR眼鏡原型所遇到的情況。我之前基于Avegant和谷歌AR眼鏡原型的對比信息,以及兩者都使用了應用材料光波導的消息,錯誤地認為谷歌的新款AR眼鏡使用了Avegant的LCOS光引擎。但事實證明,盡管谷歌“評估”了Avegant的參考設計,但他們最終采用了Raxium的單片式全彩MicroLED器件和投影光學系統。

單片式全彩MicroLED的使用表明這不過是又一個類似Meta Orion的研發演示原型。根據我的聽聞,結合我對MicroLED技術現狀的了解,Raxium MicroLED的良率非常低,可能不到1%,這使得基于Raxium的XR眼鏡無法成為量產產品。正如本文接下來將要討論,在谷歌收購Raxium時,Raxium的MicroLED開發似乎并未取得太大進展。
由于我驚訝地發現Raxium的LED用于谷歌XR眼鏡,我決定更深入地研究Raxium。Raxium對我來說曾是個謎團。令人奇怪的是,后來以MicroLED聞名的Raxium,其聯合創始人兼首席科學家Gordon Wetzstein多年來并無MicroLED背景,這位斯坦福大學教授主要是以其在光場和類似近眼顯示領域的工作而聞名(例如參見這個鏈接https://www.youtube.com/watch?v=c8Ge08MwSLQ)。另外,就在谷歌收購Raxium前不久,曾在Magic Leap擔任先進光子學副總裁、并創立光場公司Zebra Imaging的Michael Klug同樣加入了Raxium。我不禁疑惑,為何一家MicroLED初創公司會擁有具有光場和光學經驗的重要人物?所以,我查閱了Raxium的專利申請文件以尋找答案。
盡管我錯誤地判斷了谷歌XR眼鏡使用了Avegant的LCOS光引擎,但我進一步確認了Meta很可能在Hypernova眼鏡中使用了Lumus的光波導和LCOS光引擎。
谷歌TED演講視頻中展示的MicroLED
Android XR副總裁Shahram Izadi在TED演講中舉起了一個他描述為“全彩顯示器”的設備,但并未說明其使用的技術。在撰寫文章之前,我曾與其他人反復討論這究竟是MicroLED還是LCOS。隨附的預錄視頻(左下靜幀圖)暗示視頻中展示的正是這一設備。整個裝置看起來一點都不像顯示設備——通常顯示設備會比其產生的圖像大10-20%。在我看來,插圖中的圖像更像是后期處理添加。插圖甚至看起來不像是由MicroLED顯示器產生的。通常,MicroLED產生的圖像對比度和色彩飽和度要高得多。另外,它與伊扎迪手中舉起的實物毫無相似之處。這段視頻領我懷疑演講中其他內容的可信度。

Raxium的單片式MicroLED顯示器意味著它們只是實驗室演示原型而非產品——“良率低于1%”
另一個混淆我判斷的事情是,我當時在想,或者至少是希望,它可能會成為一個產品——或許不是由谷歌直接銷售,但可能是Android XR的某個合作伙伴推出。我總是從如何創造產品的角度思考,而不僅僅是實驗室演示原型。
這種思維模式領我措手不及,當我在Reddit論壇評論HoloLens 2使用LCOS而LBS非激光束掃描時,我簡直無法相信微軟會如此愚蠢地在AR產品中使用LBS。但我低估了企業政治的深度,以及它依然只是一個成功逃出實驗室的研發項目的事實。
單片式全彩MicroLED尚未準備好用于量產產品。有消息稱,Raxium MicroLED的良率可能低于1%,而且即便是這個數字,都是在放寬了對“合格”器件定義(即允許有多少壞點/子像素)的慷慨假設下才可能達到。Raxium成立于2017年,其最初的重點并非為AR制造微型顯示器,而是致力于直視型光場顯示器,例如Looking Glass(稍后會詳細介紹)。
看來谷歌的XR眼鏡和Meta的Orion一樣,都只是實驗室演示原型。谷歌XR演示眼鏡是單目,并且只制造了少數幾副,這或許可以窺見MicroLED的良率。
將谷歌的XR眼鏡與Meta的Orion實驗室演示原型及其Hypernova產品進行對比很有意思。Meta的Orion實驗室演示原型使用了他們自己開發的碳化硅衍射光波導及ade Bird Display的MicroLED。但在推出市場產品時,Meta的Hypernova采用了Lumus的反射光波導和LCOS微顯示器。
我預計,如果類似谷歌XR眼鏡的產品真的上市(或許是通過他們的某個合作伙伴),他們很可能會轉而使用LCOS、僅使用綠色MicroLED,或者采用三芯片(RGB)MicroLED設計,搭配X-Cube(如TCL的全彩MicroLED眼鏡)或作為合束器的衍射光波導。
全彩原生MicroLED的現實審視
有必要對原生(非量子點QD)全彩單片LED的現狀做個基本判斷。要制造一個原生全彩MicroLED顯示器件,每種顏色的LED都具有不同的晶體結構。不同的晶體必須在各自獨立的過程中生長,而每一步都可能對其他顏色產生負面影響。另外,存在不同晶體之間相互自熱和熱膨脹的問題。最后,為了獲得與單色MicroLED相同的分辨率,它們必須產出三倍數量的LED。
非Micro LED是在晶圓上制造,然后進行切割、測試和分級。但對于MicroLED微顯示器,你得到的是所有LED——包括好的和壞的——作為一個整體。MicroLED的尺寸通常在2到6微米量級,太小而無法進行切割、測試和放置以形成顯示陣列。因此,通常是將整個LED陣列倒裝(Flip-Chip)到CMOS控制背板。每個LED至少有兩個觸點必須完美地連接到CMOS器件。
LED晶圓加工和CMOS晶圓在不同的工廠生產(通常是不同的公司)。LED和CMOS基板之間可能存在工藝兼容性問題。然后是組裝過程,這對每個MicroLED組裝商來說都是獨特的。通常,制造LED的公司并不精通CMOS設計。很少有公司能處理所有環節,一個或多個環節會外包給第三方。這遠比設計一個典型的芯片初創公司復雜得多——后者涉及使用廣泛可用的設計工具設計CMOS芯片,并外包給成熟的CMOS代工廠。過程中的諸多步驟依然只是研發階段,并涉及不同公司之間的協調。
盡管原生全彩MicroLED并非不可能實現,但大多數已經投入大量資金于研發設施、工廠和人員的公司至今都未實現任何規模的量產。很難相信在谷歌收購Raxium之前,他們的技術已經如此領先。盡管谷歌資金雄厚,但正如俗話所說,“懷胎仍需十月”(急不得)。
諾視科技Innovision單片全彩堆疊式MicroLED
我認為在此展示Innovision的MicroLED顯示器會很有啟發性,這是我迄今為止見過的最好的單片全彩原生MicroLED顯示器。可能某個實驗室(或許在谷歌)擁有更好的全彩原生MicroLED,但這款是公開的,我可以拍照。
在SID Display Week 2025期間,我獲準查看并直接拍攝了他們單片式、1024×768分辨率、使用原生(非QD)堆疊MicroLED的全彩顯示器的顯微照片。請注意,即便他們提供了放大鏡,你都無法看清顯示器的細節。
我使用4500萬像素相機,5倍微距鏡頭,可以捕獲顯示器上的單個像素。下圖(左)是Innovision展位及其演示,(右)是我的相機拍攝的全圖。


從Innovision展示的圖像中很難看出太多信息(演示圖像通常會隱藏缺陷),他們好心地使用了我的一張測試圖。遺憾的是,我沒有1024×768的測試圖案,所以顯示時縮小了。下圖是Innovision顯示器的直接顯微照片(左)和縮放到相同尺寸的源圖像(右)。

下圖,我進一步放大了一點(左),并包含了一個低分辨率的整體圖像(右),這大約相當于你通過一個簡易放大鏡觀察整個顯示器所看到的畫面。如果你看帶有“23”字樣的白色圓圈,你會發現許多失效或非常微弱的子像素,以及精靈面部有許多紅點(可能是常亮點)。

我必須提醒,即使是這個器件,都可能只是為展會特別挑選的“精品”,而顯示器有成千上萬個消費者會認為是壞點的缺陷。就目前而言,它可能適用于“企業級”應用,但與當今其他顯示技術相比,消費者很可能無法接受。
谷歌:內部研發MicroLED同時將光波導研發設施出售給Vuzix vs. Meta:部分自研,部分外包
我在撰寫本文時了解到,谷歌,就是那個“以其在軟件領域的廣泛工作而聞名的全球技術領導者”,他們將光波導研發設施出售給了Vuzix。我不確定為何新聞稿對其身份語焉不詳,畢竟這遲早會泄露出來。
有趣的是,谷歌似乎正通過Raxium研發MicroLED。同時,谷歌正在關閉自己的光波導研發。相比之下,Meta則繼續進行大規模的光波導自研,特別是其碳化硅光波導。然而,有實質性的傳言稱Meta把大部分光學工作外包給外國公司。
Meta與MicroLED
當我最初深入研究Raxium時,他們結合了MicroLED和光學的專利申請令我想起了Meta/Oculus在2016年收購的InifiniLED。InifiniLED當時正在開發一種集成了反射鏡和光學的MicroLED器件。下圖(左)來自專利申請,(右)是電子顯微鏡圖像。

自收購以來,就再也沒有聽到InifiniLED或Meta/Oculus的相關消息。Meta后來在2020年收購了Plessey的全部MicroLED生產權,但有許多報道稱這一合作未能成功。根據多方消息來源,Meta最新的Orion眼鏡使用的是由Jade Bird Display制造的MicroLED。
我懷疑Meta并未放棄開發MicroLED,并且轉向探索其他公司。但在過去兩年里,Meta一直在展示下面的幻燈片,而這表明MicroLED可能只是通往激光技術(可能是掃描、激光照明LCOS或其他技術)的一步。

我有個說法:“在AR領域,如果你能想到,Meta可能都已經嘗試過。”鑒于Meta每年虧損約200億美元,他們幾乎有可能探索過任何事情。
深入探究Raxium——最初更側重于光場光學而非MicroLED
如引言所述,我對像Raxium這樣一家“MicroLED公司”為何會聘請Gordon Wetzstein(聯合創始人兼首席科學家)感到困惑,他并無MicroLED背景,反而以其在光場顯示器方面的工作而聞名。
快速檢索Raxium的專利申請發現,在其27項申請中,大多數都與創建直視型(顯示器/電視尺寸)光場顯示器有關。MicroLED在此應用中具有優勢,因為其發光區域小,可以支持用于形成光場的微光學元件。
“Raxel”是Raxium對光場元素的命名
Raxium最早的專利申請提到了“Raxel”,這是他們對其光場器件像素元素的命名。最初的專利申請表明,MicroLED可以是原生/無機的,又可以是色彩轉換的(例如使用量子點轉換藍色光)。
摘錄自Raxium專利申請20190333443和20210383746(大部分說明書相同),粗體為我所加:
在專利中,術語picture element和術語super-raxel可以互換使用,以描述光場顯示器中相似的結構單元。在某些情況下,picture element可稱為像素,但它不同于傳統顯示器中使用的像素。
下圖是Raxium早期幾項專利申請共有的圖示集合。請注意,大型直視型光場顯示器似乎是他們最初的目標終端產品。

下圖,同樣常見于20190333443和20210383746,表明Raxium可能最初考慮過使用原生或QD轉換的彩色LED。看起來這家公司最初更關注光場微光學而非MicroLED的結構。這有助于解釋具有光場背景的Gordon Wetzstein加入公司的原因。

Raxium是否轉向MicroLED,類似于Mojovision?
證據表明,Raxium是一家光場公司,最初使用LED作為其顯示器,但后來轉向成為一家MicroLED公司。這令我想起了Mojovision,它最初是一家顯示隱形眼鏡公司,在燒掉超過2億美元后重組并轉向成為一家MicroLED公司。
初創公司轉型未必是壞事。然而,從Raxium成立到似乎轉向MicroLED公司并被谷歌收購之間,時間并不長。
谷歌的Project Starline(更名為Google Beam)光場顯示器
同樣值得注意的是,谷歌多年來一直在研究大型直視型光場顯示器,即Project Starline(2021年首次演示),并在最近更名為Google Beam。有可能Raxium最初引起谷歌注意的原因是由于其在光場領域的工作。然而,在谷歌收購Raxium之前,Raxium已被認為是一家“MicroLED顯示器”公司。
Raxium從直視型光場顯示器轉向微顯示器
在早期,Raxium似乎將MicroLED視為實現光場目標的手段,而非擁有獨特的MicroLED技術。直到大約在谷歌收購Raxium前兩年(2020年)提交的臨時申請(如下文申請20220352253)中,才有少數專利詳細描述了全彩單片式MicroLED的結構,這些專利主要涉及一個人——Raxium的首席技術官Gang He。我的觀點是,在谷歌收購之前,沒有跡象表明Raxium在MicroLED開發方面取得重大進展。

帶來US202339575專利的臨時申請是在谷歌收購前不久提交的。至此,Raxium似乎已經完全轉型為一家MicroLED公司,而非光場公司。

Raxium.Google 網站
目前存在一個Raxium.Google,并似乎專門發布MicroLED制造領域的職位空缺。

這個網站有一個奇怪的MicroLED藝術渲染圖,顯示不同尺寸的彩色子像素。子像素的排列方式荒謬。它顯示了簡單的微透鏡(而非用于光場的光學元件)。頁面同時有不同尺寸的紅、綠、藍MicroLED視圖,但這可能是藝術渲染圖。這種“藝術渲染圖”正是我對TED演講預錄視頻中展示的設備是否真實持懷疑態度的原因。我經常看到荒謬/虛假的營銷圖片和視頻。
谷歌的組合式擴瞳器——類似Meta Orion的衍射光波導
在審閱谷歌近期的XR眼鏡專利申請時,我發現了US 20250172756。其結構令我想起了Meta的Orion衍射光柵。正如之前討論,所示的光波導結構似乎與Waveoptics(于2021年被Snap收購)的非常相似。

谷歌的像素位移專利申請
在審閱谷歌涉及MicroLED和光波導的XR相關專利申請時,我遇到了US20250147317,“時分復用投影顯示器的像素位移”。有趣的是,專利的發明人包括Michael Klug(前Magic Leap員工)和Zheng Qin(前AntReality創始人兼CEO,該公司被谷歌收購)。
在帶你深入探討這個專利之前,我想指出的是,我認為時分復用像素位移技術配合MicroLED微顯示器可能非常有用。只是這個方案看起來不切實際地龐大和復雜,并且圖像質量可能很差。它有眾多額外的光學表面可能導致重影和其他問題,添加的棱鏡將導致更長的光路,很可能引起光學問題。這個專利申請可能是谷歌研究人員工作內容的體現。可能是有人決定“以防萬一”而申請專利。盡管如此,這不太可能是谷歌XR最終會采用的技術。
在2023年1月,亦即谷歌提交這份專利相關臨時申請前約10個月,我討論了使用時分復用和像素位移作為緩解壞點、提高均勻性和增強MicroLED分辨率的方法。我同時在3月進一步討論了這個概念,包括以下用途列表:
將多個LED位移到同一位置以平均其亮度,并校正任何失效或弱像素,應能顯著提高良率。
將空間彩色子像素(紅、綠、藍)位移到同一位置以形成一個全彩像素。這將是一種減小像素有效尺寸并“規避”較大空間彩色像素引起的光學擴展量問題的方法。
提高分辨率,因為MicroLED發光區域通常遠小于像素間距。切換時可能沒有重疊,可獲得全部的分辨率優勢。這項技術可以用更少的像素和更少的連接實現,但在可達到的最大亮度方面會有所取舍。
在我的博客中,我假設了某種形式的顯示器或光學元件的機電運動。poLight移動/擠壓光學元件,而Cambridge Mechatronics可以移動顯示器或光學元件。
谷歌的這個專利申請采用了一種全電子學方法,利用液晶、四分之一波片和基于偏振位移像素的雙折射元件(“像素位移器”)。如下圖所示,使用分束器根據偏振將圖像分成兩條路徑進行“位移”,然后再將它們組合起來以保留所有光線。

上面的例子假設了衍射光波導。專利申請的圖15展示了它如何與反射/幾何(例如Lumus)光波導配合工作。

前面的例子假設了單色或單片全彩MicroLED顯示器。專利申請給出了幾個例子(下面展示了其中兩個),說明如何擴展光學系統以支持獨立的R、G、B MicroLED,并與X-Cube組合。我不知道你怎么想,但對于要塞進一個頭顯的光學系統而言,這可能有點太多了 ??。

這份申請同時演示了如何將此概念應用于AntReality類型的光學系統。正如之前討論,谷歌于2023年收購了AntReality。
請注意,上面的所有光學元件僅支持一維位移。專利概述了二維位移的概念,但未展示光學系統會是什么樣子。不過,我可以想象它可能會使所有位移路徑增加一倍以上。

Kura Gallium時分復用MicroLED像素掃描
在與時分像素復用相關的主題中,大約在2019年,Kura開始討論Gallium設計。我當時打算寫一寫,但我看不出他們有任何辦法能實現它,而且我忙于其他事務。
Kura討論的是掃描一個具有完整水平分辨率但只有“N”行LED的陣列。Kura的計劃(據我所知,他們從未成功推出產品),如其US 2021/0225268專利申請所示,是使用獨立的紅、綠、藍LED陣列。這份專利申請提供了一個8000 x 50像素陣列的例子。

盡管Kura的專利申請圖(下圖)沒有顯示,但Kura在2019年展示的圖片(附有我紅色標注)暗示了另一種排列方式:不使用每種顏色的線性集合,而是使用矩形塊集合(右圖)。在這兩種情況下,它們依然是一維掃描。

這種方法的優點是,僅需相對較少的物理像素就能生成更高分辨率的圖像,并且可以平均掉單個LED的亮度差異。然而,光輸出量大致被物理行數與圖像行數的比值所除,因此對于光波導等應用可能亮度不足。另外,假設掃描鏡線性移動,相鄰行之間往往會產生混合/模糊。
結論——谷歌XR眼鏡是否只是一個研發演示原型?
基于Raxium的谷歌XR眼鏡似乎是一個研發演示原型,在合理的時間框架內量產的可能性微乎其微,這與基于當前單片全彩MicroLED技術狀態的Meta Orion非常相似。簡而言之,它只是一個試圖模仿消費設備的實驗室項目。然而,在2024年宣布與谷歌在AR領域合作的應用材料公司,幾乎在同一時間宣布與Avegant合作。應用材料并不從事谷歌研發規模所需的光波導業務。
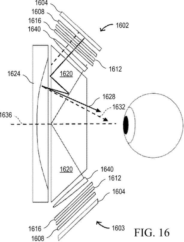
我看過Avegant的參考設計,與我評估過的其他衍射光波導設計相比,其圖像質量相當不錯。尺寸和重量似乎可以接受。遺憾的是,我未能有機會仔細研究這款眼鏡。最明顯的缺點是,盡管應用材料光波導的圖像質量對于衍射光波導來說不錯(整個圖像依然存在一定的色彩問題),但其正面投影(“眼睛輝光”)比大多數設計要嚴重得多。我很難相信消費者會接受這一點,但衍射光波導也可以設計成眼睛輝光不那么嚴重的問題。Avegant報告稱,他們擁有多個客戶采用其20度單目和30度雙目的參考設計,并都使用了應用材料的光波導。
我認為我們很可能會在未來一年內在市場上看到類似谷歌在Google I/O大會展示的Android XR眼鏡,但如果要實現全彩,它們很可能會使用LCOS微顯示器。

