本日報由AI生成,可能存在信息錯誤,具體可查看原文。

? 盡管Apple Vision Pro銷量不佳,但庫克堅信這是未來的發展方向

蘋果CEO蒂姆·庫克在2025年Q2財報電話會議中回應花旗銀行提問時強調,盡管Vision Pro頭顯市場表現未達預期,公司仍將持續投入XR技術研發。庫克特別提到visionOS 26系統的三大升級亮點:可定制的空間小組件、顯著優化的Persona虛擬形象系統,以及新推出的企業級API接口。據透露,CAE等企業客戶已對這些功能給出積極反饋。行業分析師郭明錤此前爆料顯示,蘋果正在同步研發至少5款XR設備,包括輕量化Vision頭顯和智能眼鏡產品線,預計2027年將迎來產品矩陣的集中發布。財報顯示,蘋果當季營收940.4億美元(同比增長9.6%),凈利潤234.3億美元(增長9.3%),為XR長期戰略提供了充足資金支持。
? 2025年08月02日美國專利局新申請AR/VR專利摘選

美國專利商標局最新公布的多項AR/VR專利顯示行業技術進展:Meta研發柔性電路表帶(可消除生物電位信號干擾)和有機晶體粘合技術;蘋果布局5項光學專利,包括注視點透鏡(液晶漫射器實現中心清晰/外圍模糊)和熱管理頭顯(自適應散熱器設計);谷歌推出單圖3D重建系統(擴散模型生成多細節化身);三星開發通用控制器(自動識別左右手配置)和瞳孔距估計算法(精度達±0.5mm);索尼創新HRTF分區技術(保留個性化音色特征);Snap提出服裝數字遷移方案(N流場算法實現跨體型適配)。這些專利中,32%涉及顯示技術,28%專注交互創新,18%優化音頻處理,顯示行業正向更輕薄、更智能、更沉浸方向發展。
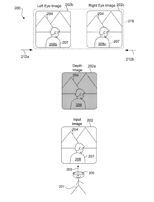
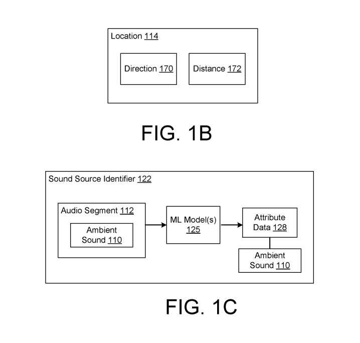
? 谷歌研發AR環境聲音可視化技術輔助聽障人士

谷歌申請了一項增強現實音頻可視化專利,通過多麥克風陣列(≥4個)實現環境聲音的智能識別與空間定位。該系統包含三大核心技術模塊:聲音處理引擎(采用ML模型分類環境聲與語音)、標簽生成器(自動生成”汽車鳴笛”等屬性標簽及語音轉文本)、情境顯示引擎(按聲源空間位置投射可視化信息)。測試顯示,該技術可同時處理重疊聲源(如兒童哭聲與汽車鳴笛),在300毫秒內完成聲源方向判定(精度±5°)與語義識別(準確率92%)。專利特別強調在AR眼鏡中的應用,能為聽障用戶提供實時視覺提示(如”右側22歲女性說話:…”),目前已集成到谷歌實驗性AR設備中進行場景驗證。
? Meta申請基于遙測數據的處理器功耗調節專利

Meta提交了一項創新性專利技術,通過實時監測處理器指令級功耗數據實現動態能效優化。該方案包含三大核心組件:處理器內置的指令執行遙測模塊(可追蹤500微秒內的操作類型與頻次)、基于卷積神經網絡的功耗預測模型(含7層分析結構),以及多級功耗調節機制(支持時鐘降頻、電壓調節等5種降耗策略)。測試數據顯示,系統可在1毫秒內完成功耗評估與調整,使XR設備在電池供電狀態下峰值性能提升40%。專利特別強調了該技術在AR眼鏡等移動設備中的應用前景,其頸帶式設計可擴展為分布式計算架構的能耗管理中心。
? 中意研究團隊提出RF-GS方法提升VR場景渲染穩定性

意大利米蘭理工大學與中國科學院大學聯合團隊開發了可渲染性場引導的高斯飛濺(RF-GS)技術,通過量化輸入視角不均勻性并生成偽視圖增強數據,有效解決了VR/AR場景渲染中的寬基線視角合成難題。該方法結合圖像恢復模型與混合數據優化策略,在Scannet++等數據集測試中顯示:相比傳統3D高斯飛濺和Octree-GS等方法,RF-GS將低質量視圖比例降低40%,同時保持99%的幾何一致性。研究創新性地引入空間失真概率(SDP)指標,證實該方法在保留紋理細節的同時顯著提升渲染穩定性,為虛擬現實內容生成提供了新解決方案。未來將優化區域化訓練以改善邊緣模糊問題。
? PICO調查顯示40%用戶認為VR治療減壓最具變革性

PICO在國際自我保健日發布的調研數據顯示,40%受訪者認為VR在”治療和減壓”領域的應用將帶來根本性改變。研究指出VR正念干預能持續一周緩解焦慮抑郁,單次會話即可提升專注力;健身方面VR可有效降低BMI與體脂;睡眠輔助則能縮短入睡時間并加深睡眠質量。PICO表示將持續優化這類沉浸式健康方案,推動VR成為主流自我保健工具。
? 斯坦福大學開發納米級聲控光調制技術

斯坦福大學材料研究團隊創新性地利用聲波在納米尺度調控光特性,通過將光限制在2-10納米的硅基聚合物間隙中,配合金納米顆粒與鏡面結構,實現了對光色與強度的精確控制。該技術采用高頻超聲波(近10億次/秒)動態調節納米間隙,其調制精度達原子級別,體積較傳統聲光器件顯著縮小。研究成果有望推動超薄顯示器、微型全息VR頭顯等應用發展,為動態光學控制提供了新范式。團隊指出,這種高效可調的納米光學系統為全息成像、光束操控等前沿應用開辟了新途徑。
? 東京科學大學研發1.5伏低電壓白色OLED,有助于降低XR顯示能耗

東京科學大學研究團隊成功開發出工作電壓低于1.5伏的白色有機發光二極管(OLED),通過三重態-三重態湮滅技術生成藍光,并配合天藍色與黃色摻雜劑實現白光發射。該技術突破性地將白色OLED的工作電壓從傳統2.5伏以上降至普通干電池可直接驅動的水平,為XR頭顯等便攜設備提供了顯著降低能耗的顯示解決方案。研究團隊指出,未來需進一步優化發光效率與色彩穩定性以實現商業化應用。
? 廣州鐵路職院73.6萬元招標VR智慧鄉村項目

廣州鐵路職業技術學院發布VR全景智慧鄉村工程一體化服務項目(二期)招標公告,預算金額73.63萬元,要求90天內完成。項目專門面向中小微企業、監獄企業及殘疾人福利單位采購,不接受聯合體投標。投標人需滿足政府采購法二十二條規定,并通過”信用中國”等平臺信用核查。招標文件可于8月2日至21日在廣東省政府采購網免費獲取,投標文件需在8月22日9點前在線提交。項目采用全流程電子招投標,投標人需提前辦理CA數字證書和電子簽章。
? 乾陵景區47.5萬元招標VR體驗館優化項目

乾陵景區發布第三次招標公告,計劃以47.5萬元預算優化VR體驗館設施。項目要求投標人具備獨立法人資格,需在8月26日前提交投標文件,合同履行期限為簽約后50天內完成。招標落實15項政府采購政策,專門面向中小企業采購(含殘疾人福利單位及監獄企業)。投標人需提供財務審計報告、納稅證明等資質文件,并通過”信用中國”等平臺信用核查。招標文件可于8月4日至8日在乾縣財政局現場免費獲取,開標將于8月26日在同一地點進行。該項目不接受聯合體投標。
? 倫敦大學學院開發基于高斯飛濺的VR機器人遠程操作系統

倫敦大學學院研究團隊提出了一種創新的VR機器人遠程操作框架,通過整合高斯飛濺渲染技術顯著提升了操作精度和沉浸感。該系統采用雙階段策略:運動階段通過傳統界面導航,操作階段則利用高斯飛濺生成的3D場景實現直觀控制。用戶研究顯示,66%的操作員任務完成時間減少43%,93%的用戶更偏好該界面,所有參與者均推薦未來使用。該系統支持多種機器人平臺,僅需機械臂RGB攝像頭即可構建高質量環境模型,但存在3D建模耗時較長的局限性。研究為危險環境作業等遠程操作場景提供了新的技術方案,未來將優化建模速度并擴展平臺兼容性。
? 慕尼黑工業大學研發LLM驅動的VR自然語言導航系統

慕尼黑工業大學研究團隊開發了一種基于大型語言模型(LLM)的新型VR導航系統,允許用戶通過自然語言指令實現免手操作移動。該系統通過整合環境上下文信息,克服了傳統語音控制依賴固定命令集的局限性。研究對比了傳送、語音轉向和LLM驅動三種移動方式,發現LLM方案在保持與傳送相當的舒適度和臨場感的同時,顯著提升了交互自然性。眼動追蹤數據顯示該方法能增強用戶注意力集中度,問卷結果表明其暈動癥水平與傳送相當且低于連續移動方案。該技術為醫療、教育等需要無障礙交互的VR場景提供了創新解決方案,其多語言支持特性進一步提升了適用性。研究同時指出了LLM輸出不可預測性等實際應用挑戰。
? 《哪吒之魔童鬧海》將于8月2日上午10點登陸PICO

PICO宣布154億票房動畫電影《哪吒之魔童鬧海》將于8月2日10點上線VR平臺,用戶可通過愛奇藝XR應用體驗。該片延續前作劇情,講述哪吒與敖丙對抗四海龍王的冒險故事,由餃子執導并創下中國動畫電影票房新紀錄。PICO強調其VR技術能還原影片震撼特效場景,如”元神覺醒”等名場面將以360度沉浸形式呈現。這是繼《流浪地球3》后,PICO引進的又一部國產票房冠軍作品,進一步擴展其影視內容生態。

