本日報由AI生成,可能存在信息錯誤,具體可查看原文。

? PICO團隊發布XR機器人遠程操作框架XRoboToolkit

PICO團隊推出開源跨平臺XR機器人遠程操作框架XRoboToolkit,該框架基于OpenXR標準開發,支持多款XR頭顯設備與各類機器人平臺。框架通過優化視頻流傳輸協議實現端到端延遲低于100ms,提供多種控制模式包括手柄操控、手勢識別和全身追蹤,并配備QP逆運動學求解器實現精確控制。目前已成功應用于機械臂精密操作、移動平臺控制等場景,支持機器人示范數據采集和AI模型訓練。該框架已面向開發者開源,未來將持續擴展對更多硬件平臺的支持并推進相關標準制定。
? Meta專利申請多微設備單元集成技術用于AR/VR設備

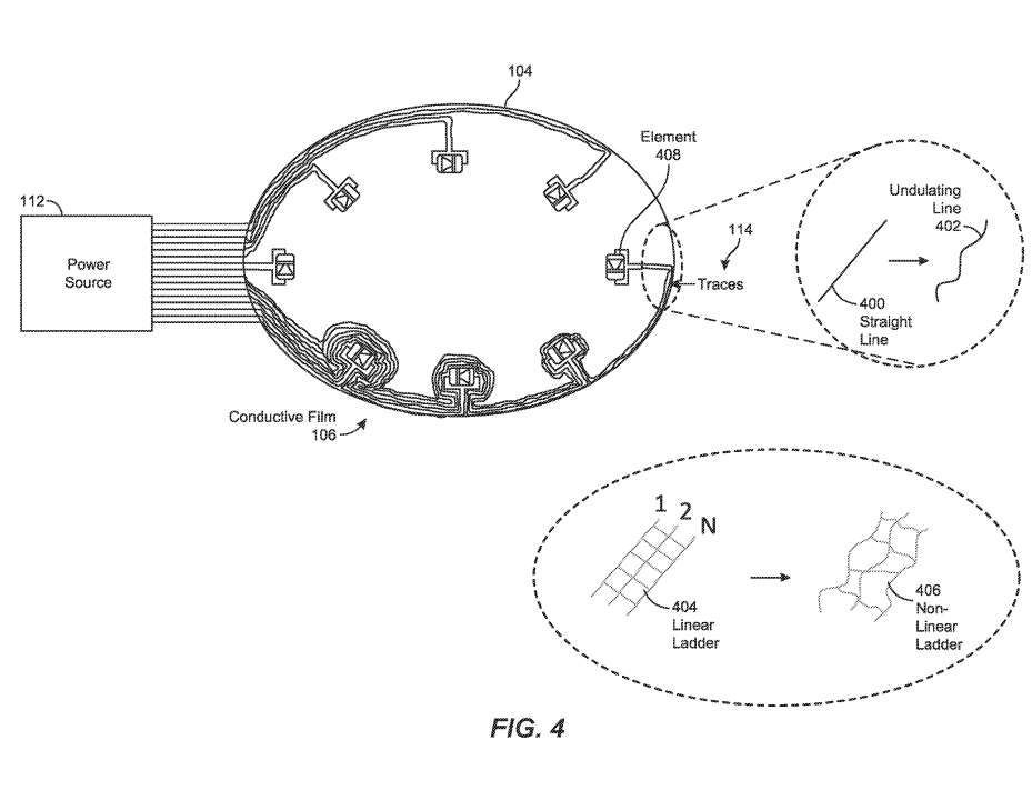
Meta公司公布了一項關于多微設備單元的技術專利,該技術將多種微型光學元件集成在單一模塊中,用于AR/VR設備。專利描述了一種包含微天線、微發光元件和電流轉換器的集成系統,通過非線性導電線路降低可見性干擾。該技術采用特殊設計的金屬網格結構,支持無線通信和視線追蹤功能,同時通過微轉換器實現不同類型電流的轉換。專利還展示了多種設備布局方案,包括環形排列和邊緣布置等創新設計,旨在提升AR/VR設備的性能和用戶體驗。這項技術最初于2024年2月提交申請,近期由美國專利商標局正式公布。
? 歐洲國防Theon公司投資Kopin、eMagin、Varjo等布局AR單兵技術

歐洲國防科技公司Theon宣布啟動THEON NEXT計劃,通過四項戰略投資與合作布局下一代單兵AR系統關鍵技術。該計劃包括:1500萬美元投資美國Kopin公司并成立合資企業開發microLED顯示器;與eMagin簽訂顯示器供應協議;同美國ALEREON公司合作超寬帶無線技術;以及500萬歐元可轉換貸款投資芬蘭Varjo公司。這些舉措聚焦AR軟件、微顯示器和無線連接三大技術方向,旨在推動歐美協同開發具備沉浸式態勢感知能力的單兵作戰系統。
? vivo將于8月21日發布Vision MR頭顯探索版

vivo宣布將于8月21日在東莞舉行Vision MR頭顯發布會。這款采用高通驍龍4nm平臺的頭顯主打輕量化設計和自然交互體驗,支持眼動追蹤和手勢操控,實現虛擬與現實的無縫融合。據透露,該設備顯示規格屬行業頂級水平,重量控制出色,價格預計不超過2萬元。vivo智慧終端產品總經理洪沂表示,這款探索版產品今年暫不上市銷售,但會后將開放線下體驗預約,以收集用戶反饋優化產品。該頭顯此前已在博鰲亞洲論壇亮相,具備外接電池設計和多攝像頭配置。
? 德國團隊開發大語言模型VR觸覺反饋系統Scene2Hap

德國薩爾大學與馬克斯·普朗克信息學研究所聯合開發了Scene2Hap系統,利用多模態大語言模型自動生成VR場景中的物體級振動觸覺反饋。該系統通過分析物體的語義屬性和物理上下文,自動推斷材質特性與振動行為,并計算振動在場景中的物理傳播效果。研究證實,該系統不僅能準確理解復雜場景中物體的交互關系,還能顯著提升用戶的材質感知和空間沉浸感。該技術解決了傳統手動設計觸覺反饋效率低下的問題,為VR內容創作提供了自動化解決方案。相關論文已在arXiv平臺發表。
? 港城大與新加坡國立大學研發VR咀嚼觸覺設備VirCHEW Reality

香港城市大學與新加坡國立大學聯合團隊開發了一款名為VirCHEW Reality的面部觸覺設備,通過氣動壓力模擬不同食物的咀嚼質感。該設備能根據用戶下頜運動提供動態力反饋,精確還原食物的硬度、黏性等機械特性。研究團隊通過三項實驗驗證了設備的有效性:首先確定用戶可感知的氣壓反饋閾值,然后建立力反饋與食物質感的對應關系,最終證實該技術能顯著提升VR進食體驗的臨場感。這項技術有望應用于虛擬餐飲、醫療康復和娛樂領域,但目前仍存在模擬動態變化不足等局限性。相關研究成果已發表在ACM人機交互會議論文集中。
? 江西省教育廳25.64萬元招標虛擬現實應用技術教師培訓

江西省教育廳發布招標公告,計劃以25.64萬元預算開展高職院校虛擬現實應用技術省級示范教師培訓項目。該項目面向職業院校教師,培訓需在2026年8月31日前完成。投標人需滿足政府采購法相關規定,且未被列入失信名單。招標文件可通過江西省公共資源交易網免費獲取,投標截止時間為2025年9月4日9時30分。項目采用”不見面開標”方式,投標人無需到場。采購人為江西省教育廳,代理機構為江西合勝合招標咨詢有限公司。投標人需提前辦理江西省CA數字證書方可參與投標。
? 平度市技師學院92萬元采購虛擬現實設備招標公告

平度市技師學院發布虛擬現實設備采購項目招標公告,項目預算金額為92.266萬元,專門面向中小微企業采購。投標人需滿足政府采購法相關規定,且未被列入各類失信名單。招標文件可通過青島市公共資源交易電子服務系統免費獲取,投標截止時間為2025年9月2日9時30分。項目不接受聯合體投標,支持網上遠程開標,投標人無需到現場。采購人為平度市技師學院,代理機構為青島一諾項目咨詢管理有限公司。
? 前工業光魔員工創立VR游戲工作室Noetic Realms開發RPG新作

由前工業光魔資深開發者Zander Dejah和VR競技賽事專家Bridger Smith聯合創立的VR游戲工作室Noetic Realms正式成立。該工作室匯聚了包括擁有10年VR開發經驗的Mathew Contino在內的專業團隊,專注于開發劇情豐富、玩法優化的高質量VR游戲。目前正在開發的首款作品是一款VR RPG游戲,計劃推出包含免費沙盒模式和付費單人戰役的版本,旨在通過電影化敘事和重玩價值吸引玩家。創始團隊此前曾參與開發《Vader Immortal》《Marvel’s What If…》等知名VR作品。
? 荷蘭BRAVR融資13萬歐元開發軍警VR心理彈性訓練系統

荷蘭初創公司BRAVR Technologies完成13萬歐元Pre種子輪融資,用于開發面向軍事人員、警察和消防員的便攜式VR心理訓練系統。該系統通過沉浸式VR環境模擬極端壓力場景,并整合實時心率監測等生物反饋技術,幫助用戶識別和訓練壓力反應。該系統旨在提升使用者在高壓環境下的表現和長期心理恢復能力,目前已獲得丹麥軍方人士的積極評價。公司計劃將原型產品轉化為即插即用的商用解決方案。
? 福州大學團隊研發無需防水處理的水下AR顯示技術

福州大學研究團隊在AR近眼顯示領域取得進展,提出基于傳像光纖與Micro-LED集成的視網膜投影顯示(μRPD)架構,實現了光電模塊分離和結構柔性化設計。該技術通過調控光纖數值孔徑精確控制光束,解決了傳統方案對強準直光源的依賴問題,并首次搭建全彩μRPD系統,支持40~160cm景深范圍內的清晰投影。研究還驗證了μRPD在水下等復雜環境的適用性,其光電分離設計使光學部分可直接置于水中,無需整體密封防水,顯著降低了成本。團隊進一步提出模塊化智能眼鏡概念模型,未來或支持AR與普通眼鏡的切換。該技術為AR設備在工業、醫療等場景的應用提供了新方案,研究獲多項國家級及地方科研項目支持。

