本日報由AI生成,可能存在信息錯誤,具體可查看原文。

? 沙特主權基金向Magic Leap追加2.05億美元投資,累計已超10億美元

沙特公共投資基金(PIF)近期向持續虧損的AR企業Magic Leap追加2.05億美元投資,使其累計注資超過10億美元。Magic Leap作為曾經的科技獨角獸,雖在2018年消費級產品失敗后轉型企業AR市場,并裁員80%,但仍未實現盈利。公司賬目顯示預計將在2025年和2026年繼續獲得資金支持以維持運營。值得注意的是,Magic Leap去年與谷歌達成合作協議,后者看中其光學技術優勢,但具體合作細節尚未公開。目前Magic Leap和PIF均未就此次投資發表評論。
? 彭博社:M5版Vision Pro更新力度太小,幾乎沒必要為此升級

蘋果低調發布了搭載M5芯片的新款MacBook Pro、iPad Pro和Vision Pro,彭博社馬克·古爾曼指出此次更新僅為芯片升級,缺乏實質性改進。M5芯片性能較M4提升15%-20%,但實際使用差異不明顯,現有用戶無需升級。Vision Pro主要升級M5處理器和新款頭帶,但未解決高昂售價、重量偏大、內容生態不足等核心問題。蘋果未改進透視攝像頭效果,且新頭帶需單獨購買。分析認為蘋果正將Vision Pro轉向企業市場,此次小幅更新反映出其對尚未成熟的頭顯市場持保守策略。
? Meta開放新一代AR眼鏡項目 Aria Gen 2 研究申請

Meta正式開放新一代研究型眼鏡Aria Gen 2的學術和商業申請通道,計劃于2026年第二季度向合格申請者部署設備。Aria Gen 2升級了傳感器套件、機器感知功能、續航及交互能力,并同步發布技術白皮書和試點數據集供研究者參考。初代Aria設備申請通道同日關閉,該項目自2020年啟動以來已支持全球27個國家近300個實驗室開展第一人稱視角研究,推動人工智能、人機交互及機器人技術發展。申請者需研讀技術文檔并提交詳細研究計劃,Meta期待通過新一代設備進一步推動以人為本的人工智能創新。
? 江西省虛擬現實產業招商推介大會簽約14個項目總金額38.7億元

江西省在南昌舉行虛擬現實產業招商推介大會,現場簽約14個項目,簽約總金額達38.7億元。此次招商聚焦AI眼鏡、VR大空間等新興賽道,涵蓋VR產業鏈終端、內容、關鍵器件等環節,簽約項目涉及AR智能眼鏡生產、新型顯示硬件制造、AI醫療智能自動化產品生產等領域。截至2024年底,江西省已聚集超400家VR企業,2024年VR及相關產業營業收入達1100億元,同比增長9.34%,2025年目標突破1200億元。
? PICO美國企業業務負責人分享:2025年企業級VR市場需求與趨勢

PICO美國及EMEA地區企業業務負責人李蘭德·赫奇斯在接受訪談時指出,2025年企業級VR市場已形成培訓、教育、醫療保健和線下娛樂(LBE)四大核心領域。企業客戶需求呈現三大趨勢:硬件需更輕便易用以降低使用門檻;技術需支持從VR向混合現實演進以擴展應用場景;需適應數字原生代員工的自然技術偏好。不同行業側重點各異——培訓領域關注投資回報率,醫療教育重視易集成性,LBE領域追求運營效率。PICO正通過構建包含硬件、內容、設備管理及服務的完整生態系統,并計劃在2026年推出搭載高級傳感器的新一代頭顯,以滿足企業對端到端解決方案的需求。
? Phenomena優化PICO XR 4 Ultra Enterprise設備體驗

Phenomena公司針對LBE VR市場發布了核心軟件平臺的重要更新Phenomena Connect服務,重點優化了PICO XR 4 Ultra Enterprise設備的使用體驗。該更新通過提升啟動器與VR頭顯間的通信效率,為運營商提供更快速、流暢且可靠的后臺服務。同時,Phenomena Launcher進行了多項改進,包括修復設備顯示問題、取消頭顯在位檢測要求以降低游戲啟動延遲,新增遠程設備控制和多語言支持等功能,并完成了對《Tower Tag》游戲力反饋槍及bHaptics觸感背心的集成支持,旨在為不同規模場館提供更完善的VR電競解決方案。
? PICO與Wild Immersion合作利用VR技術為困境兒童提供自然體驗

PICO與Wild Immersion合作開展了一項社會公益項目,通過虛擬現實技術為醫院及特殊機構的困境兒童提供沉浸式自然體驗。該項目組織16-17歲的高中生志愿者定期陪伴患病兒童,使用PICO VR頭顯帶領他們體驗”與海豚共游”等虛擬自然場景。項目規模從2022年的40名志愿者覆蓋15個地點,預計到2025-2026學年將擴展至140名志愿者服務50個地點,包括訥伊圣圣母研究所的兒童。這一倡議不僅拓展了教育邊界,為志愿者提供實踐機會,更重要的是為面臨健康挑戰的孩子們帶來慰藉和快樂,體現了科技連接人心、促進社會福祉的價值。
? 谷歌提出反射刻面波導內多光源光組合技術專利

谷歌在一項專利申請中提出了一種新型波導光學系統,通過在反射刻面波導內部組合多個圖像源的光來提高AR/MR眼鏡的顯示亮度和均勻性。該技術采用分層設計的反射刻面結構,其中耦入器由多個反射式輸入耦合刻面組成,每個刻面專門耦合特定波長或偏振態的光;而出瞳擴展器(EPE)則采用鋸齒形輪廓的反射刻面陣列,通過精確控制各刻面的透射反射比實現光的均勻擴展。這種設計允許在不增加系統體積的前提下,通過波導內部的光路整合提升最終輸出圖像的亮度和均勻性,解決了傳統設計中亮度與透視效果難以兼顧的問題。
? Meta提出基于XR眼動追蹤的自適應透視渲染技術

Meta在一項專利申請中提出了一種基于眼動追蹤的自適應透視渲染方法,通過動態調整深度網格類型來優化XR頭顯的透視圖像質量。該技術利用眼動追蹤數據確定用戶注視方向和聚散點,根據用戶注視對象的距離生成恒定深度的球形或平面深度網格,同時對外圍區域采用可變深度網格或默認深度網格處理。系統能夠根據用戶運動狀態(靜止/旋轉/移動)和環境深度特征,智能選擇最適合的深度網格類型進行圖像重投影,在保證注視區域高精度的同時,通過混合渲染策略平衡計算效率和視覺質量。這種方法有效解決了傳統透視渲染中因深度估計不準確導致的圖像偽影問題,同時降低了系統計算負載。
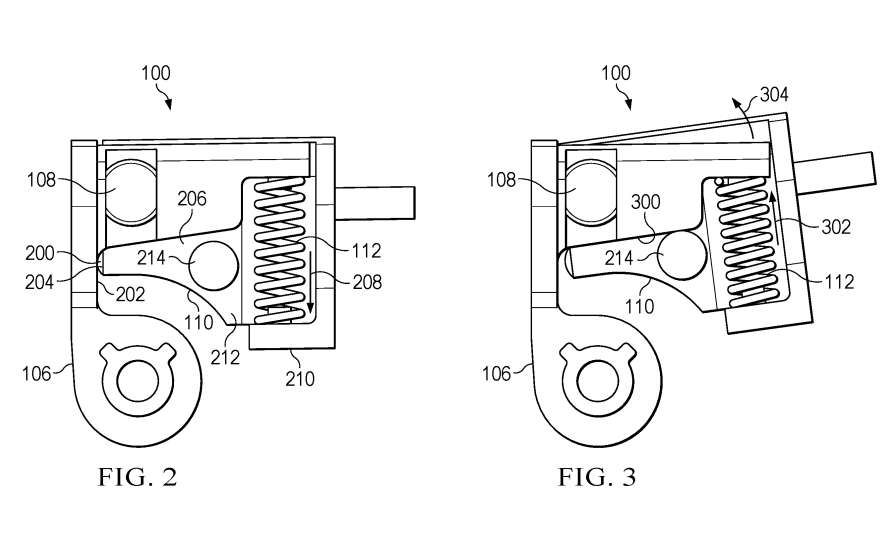
? 谷歌為頭戴式設備提出雙軸鉸鏈機制專利

谷歌在一項專利申請中提出了一種用于頭戴式設備的雙軸鉸鏈機制,旨在解決智能眼鏡等設備中因左右波導角偏轉過大導致的雙眼視差問題。該機制包含第一鉸鏈和第二鉸鏈:第一鉸鏈連接鏡框和鏡腿支撐結構,控制鏡腿的開合轉動;第二鉸鏈通過彈性件和限位結構實現鏡腿在過度屈曲方向上的獨立運動,從而適應不同頭部寬度并減少偏轉。這種設計能夠提升設備佩戴的舒適性和穩定性,同時便于柔性電路布線,有效降低雙眼視差引起的不適感。
? 清華大學與字節跳動團隊提出參數化高斯人體模型PGHM

清華大學與字節跳動團隊合作提出參數化高斯人體模型(PGHM),該框架通過整合人體先驗知識到3D高斯渲染中,實現了從單目視頻快速重建高保真人體化身。PGHM包含兩個核心組件:UV對齊隱式身份圖用于緊湊編碼主體特征,解耦多頭U-Net用于分離靜態、姿態相關和視角相關的高斯屬性。實驗表明該方法僅需約20分鐘即可完成單主體適配,在NeuMan和THuman等數據集上超越現有基線,在保持視覺質量的同時顯著提升訓練效率,為虛擬現實等應用提供了實用化解決方案。
? 北京大學團隊提出神經聲學傳輸方法實現動態場景實時聲音建模

北京大學研究團隊提出了一種名為Neural Acoustic Transfer(NAT)的神經聲學傳輸方法,通過隱式神經表示對預計算的聲學傳輸及其變化進行編碼,能夠實時預測不同條件下的聲場。該方法開發了基于蒙特卡洛的邊界元法近似算法和GPU加速版本,為神經網絡訓練提供數據支持,在動態場景中僅需數毫秒即可完成聲音模擬,較傳統方法提速數個數量級且精度更高。研究通過材料屬性編輯、物體尺寸調整等場景驗證了該方法的有效性,為虛擬現實、增強現實等交互應用提供了高效的聲音建模解決方案。
? 合作市教育局79萬招標學前智能3D沉浸式互動AR智慧教室建設項目

合作市教育局計劃以79.02萬元預算,通過公開招標方式為市三幼、市四幼及勒秀鎮中心幼兒園各建設一間智能教育3D沉浸式互動AR智慧教室。項目要求投標人滿足《中華人民共和國政府采購法》相關規定,并對小微企業、監獄企業及殘疾人福利性單位產品給予10%的價格扣除優惠。潛在投標人需于2025年10月24日前通過甘南州公共資源交易網免費獲取招標文件,并于2025年11月10日15:10前提交投標文件。
? 石家莊市公安局招標19.87萬元購置AR警用智能眼鏡

石家莊市公安局發布公開招標公告,計劃以19.86513萬元預算購置AR警用智能眼鏡。該項目專門面向中小企業采購,要求投標人滿足《中華人民共和國政府采購法》相關規定,明確了招標文件獲取時間地點、投標文件遞交截止時間為2025年11月7日,以及開標時間地點等具體信息,并規定合同履行期限為自簽訂之日起30日歷日內完成交貨。
? 千陽縣燕伋望魯臺景區招標26萬元開展VR國學六藝互動項目

千陽縣燕伋望魯臺景區管理處發布招標公告,計劃使用26萬元其他資金開展VR國學六藝互動項目。該項目采用其他招標方式,不接受聯合體投標,要求投標人具備獨立承擔民事責任的能力、良好的信用記錄等資格,并明確了招標文件獲取時間地點、投標文件遞交截止時間為2025年10月27日,以及開標時間地點和項目監督部門為千陽縣文化和旅游局。
? 鄂爾多斯市委統戰部招標49萬元VR體驗項目

中共鄂爾多斯市委員會統一戰線工作部發布招標公告,計劃使用國有資金49萬元開展“暖城同心·統一戰線沉浸式VR體驗互動內容設計、制作及開發項目”,項目不接受聯合體投標,投標文件需在2025年10月28日前現場遞交至指定地點,并公布了招標人和代理機構的聯系信息。
? 海看網絡科技公司二次招標140萬元制作濟南景區歷史名人VR內容

海看網絡科技(山東)股份有限公司發布二次競爭性磋商公告,計劃以140萬元預算開展《濟南標志性景區和歷史名人VR內容制作》服務類項目。公告明確了供應商需滿足的資格條件、采購文件領取方式及截止時間、響應文件提交與開標的時間地點等具體信息,并要求供應商通過指定渠道獲取磋商文件參與投標。
? 石嘴山第二十二中學計劃39萬元建設理化生VR虛擬仿真實驗室

石嘴山市第二十二中學發布招標公告,計劃使用39萬元國有資金建設理化生VR虛擬仿真實驗室項目。該項目采用公開招標方式,專門面向中小微企業采購,要求投標人滿足《中華人民共和國政府采購法》第二十二條規定,并在招標文件中明確了投標人資格要求、招標文件獲取方式、投標文件遞交截止時間為2025年10月27日15時,以及開標時間地點等具體信息。
? Meta分享:如何根據北美假日規劃游戲內季節性活動

Meta通過Growth Insights平臺向游戲開發者發布指南,詳細解析如何依據北美假日體系規劃季節性游戲內活動。文章系統梳理了元旦、萬圣節、圣誕節等西方主流節日的文化內涵與玩家參與特征,并納入農歷新年等非西方節日及體育賽事等非節日熱點,建議優先選擇圣誕、夏季和萬圣節三大高參與度節點開展活動。指南強調結合北半球季節周期安排更新頻率(每2-4周一次),并提示需避開學業周期等玩家活躍低谷期,以有效提升用戶粘性與營收。后續內容將聚焦活動設計方法與Meta平臺資源支持。
? 《神力科莎:拉力》證實將提供PC VR支持

《神力科莎:拉力》擬真拉力賽車游戲確認將在正式版推出后支持PC VR,旨在通過定制版Unreal 5引擎和優化物理系統提升沉浸感。游戲采用3D激光掃描技術還原真實賽段與車輛動態,并模擬天氣、路況及輪胎抓地力等影響因素。非VR版計劃于2025年11月13日在Steam平臺開啟搶先體驗,但PC VR功能的具體上線時間尚未公布。
? PICO頭顯助力Virtual Field完成400萬例VR視力醫療檢查

PICO的合作伙伴Virtual Field宣布已通過VR頭顯完成400萬例視野檢查等醫療檢測,其診斷套件提供14種基于VR的視覺檢測選項,幫助醫療機構在空間有限條件下實施全面數據互聯的檢測方案。該系統服務于從獨立診所到大型醫療系統的多種機構,通過提升檢測精準性、高效性和可重復性優化診療流程,并為行業樹立臨床驗證與患者體驗的標桿。
? 2025年10月18日美國專利局新申請AR/VR專利摘選

美國專利及商標局于2025年10月18日公布44篇AR/VR領域專利,涵蓋Meta、蘋果、谷歌、三星、索尼等企業的技術創新。專利內容涉及光學顯示(如可變剛度流體透鏡、波導堆疊架構)、交互技術(如單手操作模式、懸空手勢界面)、硬件設計(頭戴設備舒適帶、多焦點組件)及系統優化(SLAM地圖限制、動態邊界管理)等多個方向,展現了行業在提升沉浸體驗、設備舒適度及系統效能方面的持續探索。

