本日報由AI生成,可能存在信息錯誤,具體可查看原文。

? Oculus創始人新公司Sesame獲2.5億美元B輪融資,聚焦語音交互與智能眼鏡

由Oculus創始人布倫丹·艾瑞比創立的Sesame公司完成2.5億美元B輪融資,紅杉資本領投。該公司成立于2023年,專注于通過自然語音交互優化人機體驗,產品包括個人語音伴侶和輕量級智能眼鏡。團隊匯聚多位AR/VR領域資深高管,如Oculus聯合創始人內特·米切爾、Meta前技術總監等。其智能眼鏡將配備AI伴侶和高品質音頻系統,設計注重時尚性,但具體發布時間尚未公布。
? CNET評測:搭載M5芯片的新款Apple Vision Pro仍面臨重量、價格與應用生態挑戰

CNET記者對搭載M5芯片的新款Apple Vision Pro進行體驗評測,指出其雖在性能(渲染速度提升10%、120Hz動態刷新率)和舒適性(新增雙圈編織頭帶)上有改進,但核心問題仍未解決:頭顯重量增至726克(比前代增加141克),3500美元的高昂售價未調整,應用生態發展滯后(缺乏原生3D創作工具、蘋果自家應用未適配)。盡管手勢追蹤、虛擬化身(Persona)及PSVR2控制器支持有所優化,但視場狹窄、輸入方式不完善(依賴實體鍵盤)、設備間協作缺失(無法與iPhone/iPad無縫聯動)等問題限制了體驗。評測認為Vision Pro仍是“第一代產品”,需向輕量化眼鏡形態演進,并加速完善應用生態與跨設備整合。
? 騰訊多媒體實驗室牽頭完成IEEE P3366.1點云壓縮標準制定

IEEE電氣電子工程師學會宣布已完成IEEE P3366.1點云壓縮標準的制定,該標準是面向體積數據壓縮的IEEE 3366系列中的首個完成標準。該標準主要由騰訊多媒體實驗室牽頭并作為核心技術貢獻者推動,旨在實現真實3D點云壓縮技術的標準化,以解決在帶寬受限網絡中傳輸海量點云數據及在存儲受限的消費設備上處理此類數據的關鍵問題。標準制定由IEEE DCSC的體積數據壓縮工作組完成,通過高效壓縮技術標準化有助于提升點云數據的系統兼容性與可用性,推動其在虛擬現實、增強現實等沉浸式應用中的普及。
? 臺灣民主自治同盟用PICO VR技術再現臺灣光復歷史

臺灣民主自治同盟(臺盟)中央在北京舉辦第十二屆大江論壇,主題為紀念臺灣光復80周年。活動中通過PICO VR頭顯設備,利用VR大空間技術全景再現了臺灣光復的歷史歷程,影片內容包含日本掠奪資源、武裝抗日、文化抗日及光復歡慶四個部分。與會兩岸同胞,包括多位長者,通過沉浸式體驗感受歷史氛圍,有臺灣參會者表示體驗立體震撼,并強調兩岸同屬一中,應恢復正常溝通。
? 蘋果與F1達成2026年起美國地區獨家轉播協議并探索AR與VR技術應用

據報道,蘋果公司與F1達成一項為期五年的獨家協議,從2026賽季開始將美國地區的F1賽事轉播全部移至Apple TV平臺。雙方合作不僅改變賽事播出平臺,更致力于提升觀賽體驗,計劃借助蘋果制作F1主題電影時使用的攝像及技術(如VR)優化轉播水平。蘋果高管提及將以電影作為技術整合的試驗場,F1方面則表示將探索AR、VR等更多技術合作,同時蘋果還發布了基于電影《F1:狂飆飛車》的Vision Pro沉浸式影片《F1: The Movie Hot Lap》,讓用戶體驗模擬賽道駕駛。
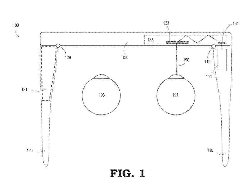
? Lumus專利申請非對稱雙目近眼顯示系統提升AR/VR視覺體驗

Lumus專利申請提出一種非對稱雙目近眼顯示系統,通過使左右眼光學系統在鼻梁中心反射面上呈幾何不對稱布局,利用人腦視覺融合機制提升AR/VR設備的視覺性能。該系統通過三種方式實現不對稱性:水平偏移投射單元與光學元件(圖3)、僅偏移投射單元(圖4)或僅偏移光學元件(圖5),從而擴展有效眼動范圍(EMB)或提高圖像分辨率。具體而言,不對稱設計可使合并EMB在水平或垂直方向擴大(如水平方向增加2倍偏移量),并通過錯開左右眼低分辨率區域(圖6-7)或優化微顯示器位置針對不同視場區域(圖8),使大腦優先選擇各區域最高質量信息,最終實現合并圖像分辨率提升和視覺舒適度增強。該技術兼容眼鏡形態設備,在保持框架對稱外觀的同時突破傳統對稱光學系統的性能限制。
? 谷歌專利分享分離基板波導技術以擴展AR眼鏡視場

谷歌專利申請提出一種用于增強現實眼鏡的波導結構創新方案,通過將出瞳擴展器(EPE)和耦出器(OC)分別置于兩個重疊的獨立基板上,解決傳統單基板波導因空間限制導致的視場擴展難題。該設計在第一基板集成耦入器和EPE,在第二基板集成OC,兩基板間插入低折射率分隔層(如氣隙或偏振分束器)防止光路干擾,并通過反射面組實現光跨層定向傳輸。實驗顯示該結構允許EPE和OC各自獨立擴展尺寸,從而將視場區域從常規10°×10°顯著增大,且兼容眼鏡形態的鏡片空間約束,為AR/MR設備提供更大可視范圍而不影響設備外形。
? 谷歌專利申請波導合束器偏轉反射器技術優化AR眼鏡光學布局

谷歌專利申請提出一種用于增強現實眼鏡波導合束器的偏轉反射器技術,通過引入偏移設置的反射刻面解耦耦入器(IC)與出瞳擴展器(EPE)的傳統位置約束。該技術允許IC更靈活地定位在鏡腿區域以適配光機放置,同時保持EPE位于鏡片主體內兼容多種鏡片形狀尺寸。專利詳細描述了包含偏轉反射器的波導光路設計,該組件可補償因多次反射導致的圖像旋轉,并支持光機位于用戶眼睛同側或對側的兩種配置。通過優化光學組件布局,該方案解決了傳統波導合束器在眼鏡形態設備中面臨的空間限制問題,為AR眼鏡設計提供更高自由度。
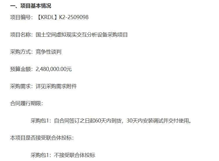
? 西北大學248萬采購國土空間虛擬現實交互分析設備

西北大學通過競爭性談判方式采購國土空間虛擬現實交互分析設備,項目預算金額248萬元,要求供應商在合同簽訂后60天內到貨、30天內安裝調試交付。該項目專門面向中小企業采購,潛在供應商需于2025年10月29日09時30分前通過陜西省政府采購綜合管理平臺項目電子化交易系統提交響應文件。
? 廣東職業技術學院170萬招標VR虛擬現實實訓室項目

廣東職業技術學院發布公開招標公告,計劃以170.584萬元預算采購新一代信息技術虛擬現實實訓基地VR虛擬現實應用實訓室項目,要求合同簽訂后30天內完成供貨安裝調試,該項目專門面向中小企業采購,投標截止時間為2025年11月11日9時30分,潛在投標人需通過廣東省政府采購網獲取招標文件并提交投標材料。

