本日報由AI生成,可能存在信息錯誤,具體可查看原文。

? 蘋果提出基于AR/VR設備的智能家庭影院校準方案

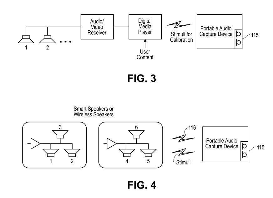
蘋果公司在一項專利申請中提出利用AR/VR設備作為家庭影院校準工具的創新方案。該技術通過設備內置的麥克風陣列和傳感器,能夠快速測量房間聲場并自動計算各揚聲器的位置參數,擺脫傳統校準方法對揚聲器標準布局的依賴。系統采用一階環繞聲采集技術,可單次完成多聲道測量,顯著提升校準效率,并能根據實際房間聲學特性生成包含延遲校正、均衡補償和串擾消除的綜合濾波器組。這一方案特別適用于非標準揚聲器布局的家庭環境,為用戶提供更靈活的音箱擺放選擇和更精準的聲場還原效果。
? Snap提出多焦點光學組件解決XR設備視覺輻輳調節沖突

Snap提出一種用于XR設備的固定多焦點光學組件解決方案,通過雙焦點或三焦點透鏡在不同視區提供固定聚焦距離,分別對應近場和遠場虛擬內容顯示。該設計利用透鏡不同區域的光學特性,使顯示器上部內容呈現在遠焦平面(如3-10米),下部內容呈現在近焦平面(如60-90厘米),模擬自然視覺的焦點轉換。該方法無需動態調焦機制或眼動追蹤系統,可減少視覺疲勞、功耗和硬件復雜度,同時避免圖像平面移動導致的對比度損失和視覺不一致性問題。
? XR+機器人:探秘用頭顯遠程操控的NEO如何重新定義家務活

機器人初創公司1X開發的人形機器人NEO目前主要依賴人類操作員佩戴Quest 3頭顯進行遠程操控,通過演示教學來訓練其神經網絡掌握家務技能。該機器人重約30公斤,具備完成放置碗碟、取物品等基礎家務的能力,但無法處理過重、過熱或尖銳物品。創始人伯尼奇強調用戶數據共享與性能提升的正相關關系,并預計2026年發貨時能實現家庭環境自主操作。NEO定價2萬美元或按月訂閱500美元,現階段演示仍顯笨拙,遠程操控存在延遲和靈活性限制,但其遠程監控功能被視為潛在實用場景。
? xMEMS完成2100萬美元D輪融資推進XR眼鏡技術研發

微型揚聲器和散熱技術廠商xMEMS宣布完成2100萬美元D輪融資,由Boardman Bay Capital Management領投。融資將用于加速其壓電MEMS技術在XR眼鏡領域的商業化進程,包括1.28毫米厚的Sycamore微型揚聲器和μCooling固態風扇芯片的量產。這些技術解決了XR設備在音頻輸出和散熱方面的關鍵挑戰,有望為AI驅動的可穿戴設備提供更優解決方案。投資方認為xMEMS的技術將成為AI硬件時代的基礎構建模塊。
? VR動作冒險游戲《Arken Age》登陸Meta Quest平臺

VR動作冒險游戲《Arken Age》正式在Meta Quest Store上線,售價29.99美元。該游戲以生物鴻溝為背景,提供基于物理的戰斗系統、武器定制、攀爬探索等玩法,包含15小時以上的戰役內容和無限重玩的無盡戰斗模式。此前該作已在Steam和PS Store獲得特別好評,現擴展至Quest平臺。
? 《神偷VR:暗影遺產》12月5日登陸多平臺

經典潛行游戲《神偷》系列的VR新作《Thief VR: Legacy of Shadow》將于2025年12月5日正式發售,支持Steam、Meta Quest和索尼PSVR 2平臺。該作由Eidos發行,玩家將扮演盜賊”喜鵲”在暴君統治的黑暗城市中通過潛行與盜竊手段獲取傳奇神器,并揭開城市背后的秘密。作為1998年首作的系列延續,本作以VR形式為玩家提供第一人稱沉浸式潛行體驗。
? 上海中醫藥大學40萬元采購3D智慧銅人VR教學設備

上海中醫藥大學發布公告,計劃以40萬元預算采購3D智慧銅人VR針刺技能考試教學設備,項目要求投標人符合政府采購法相關規定,未被列入信用中國失信名單,且不接受聯合體投標。投標人需在2025年11月5日前通過滬港國際電子招投標交易平臺上傳營業執照、法定代表人授權書等材料并支付600元招標文件費用,投標截止時間為2025年11月19日14時。該項目需落實促進中小企業發展的政府采購政策,投標文件需遞交至上海市徐匯區斜土路2364號上海滬港建設咨詢有限公司。
? 蛟河市實驗小學38.1萬元采購VR教室設施設備

蛟河市實驗小學計劃使用財政資金38.1萬元采購VR教室設施設備,項目采用公開招標方式,要求投標人為中小企業且未被列入失信被執行人、重大稅收違法案件當事人等記錄名單,投標人需通過政采云平臺獲取招標文件并于2025年11月18日13時30分前提交投標文件。
? 吉林機械工業學校66萬招標建設VR實訓室

吉林機械工業學校發布VR實訓室建設項目招標公告,項目預算66萬元,專門面向中小企業采購,要求投標供應商在政采云平臺線上獲取招標文件并于2025年11月21日13:30前提交投標文件,合同履約期限為簽訂后30天內完成供貨安裝調試。
? 康縣公安局計劃8.8萬元建設周家壩鎮區公安視頻監控AR高點系統

中電萬維信息技術有限責任公司隴南分公司發布二次公告,計劃以8.8萬元預算建設康縣公安局周家壩鎮區公安視頻監控AR高點系統。該項目旨在通過AR技術提升社會治安防控能力,采購內容包括7臺全結構化槍型網絡攝像機、1臺400萬槍球一體機、1臺AR全景高空瞭望云臺及存儲設備等。項目設置最高響應限價53097.34元(設備)和26415.09元(服務),要求供應商具備獨立法人資格、增值稅開票能力等資質,響應文件提交截止時間為2025年11月11日。項目資金已落實,將通過中國電信陽光采購網進行電子招投標。
? 泰州技師學院擬70萬元建設虛擬現實實訓室

泰州技師學院發布虛擬現實實訓室建設項目二次公告,預算金額70萬元,采用競爭性磋商采購方式,專門面向中小微企業。項目內容涉及虛擬現實、交互娛樂等課程教學設備建設,合同履行期限為30天,質保期不少于3年。供應商需通過“蘇采云”系統獲取文件并于2025年11月11日前提交響應文件,且不得被列入信用中國或中國政府采購網失信名單。項目采用不見面遠程磋商模式,并明確對異常低價報價啟動審查程序。

