本日報由AI生成,可能存在信息錯誤,具體可查看原文。

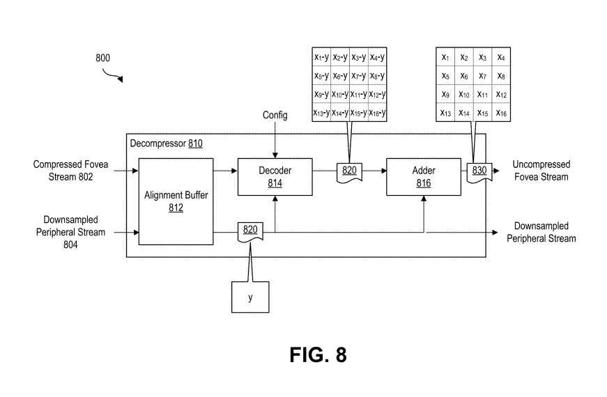
? 高通提出基于注視點感測的XR系統帶寬優化方案

高通公司提出了一項通過注視點感測技術降低XR系統帶寬和功耗的專利方案。該技術利用人類視覺中央凹特性,將圖像分為高分辨率注視點區域和低分辨率周邊區域,通過壓縮器基于周邊區域數據壓縮注視點區域,從而減少5.1-6.8Gbps的帶寬需求。系統包含圖像傳感器、ISP處理器和壓縮/解壓縮模塊,支持多級分辨率梯度處理,可在保持核心視覺區域高保真度的同時,顯著降低存儲器訪問帶寬和功耗,適用于需要高幀率透視功能的XR設備。該專利技術已于2024年4月提交申請。
? Steam 10月數據:Valve Index增幅最大

Valve公布的2025年10月Steam硬件和軟件調查數據顯示,VR頭顯用戶占比為1.53%,較上月下降0.1%。在頭顯設備份額方面,Meta Quest 3以26.48%的占比保持第一(環比下降0.2%),Quest 2以25.25%位居第二(環比下降0.92%),Valve Index增幅最大(環比增長1.13%至14.6%)。品牌總份額方面,Meta以69.27%的占比保持領先,Valve、HTC和PICO分別占比14.6%、4.73%和3.84%。
? 藝術與科技的完美協奏:PICO助萊比錫巴赫檔案館打造XR音樂體驗巡展

萊比錫巴赫檔案館在2025年巴赫音樂節期間推出“虛擬巴赫體驗”項目,允許28名觀眾通過PICO頭顯同時參與一場近一小時的XR音樂會。體驗內容包含由數字化呈現的“巴赫本人”介紹的大鍵琴樂曲選段、時代軼事和生動圖像,其形象融合了三位真實表演者的動作捕捉與面部追蹤數據。項目采用專門開發的平板應用集中管理28臺頭顯的同步運行、音量及語言設置,并計劃開發便攜版本以進行巡展。
? 侯馬市第一中學校182萬元采購VR智能實驗室及圖書

侯馬市第一中學校發布采購公告,計劃以182.07萬元預算購置VR智能理、化、生吊裝實驗室及圖書,要求供應商具備出版物發行或經營許可證,且本項目專門面向中小企業采購。投標人需在2025年11月20日14:30前通過政采云平臺提交投標文件,合同履約期限為10日歷天。
? 成都中醫藥大學附屬醫院900萬采購VR訓練系統等設備

成都中醫藥大學附屬醫院發布公開招標公告,計劃以903.69萬元預算采購VR訓練系統等醫療設備,項目分為六個采購包,涵蓋醫用激光儀器、物理治療康復設備、中醫器械及臨床檢驗設備等品目。投標人需滿足《中華人民共和國政府采購法》第二十二條規定資格,若投標產品為醫療器械還須符合相關監管條例并提供相應證明材料。招標文件通過四川省政府采購一體化平臺免費獲取,投標截止及開標時間為2025年11月21日10時00分。
? 武漢工程大學180萬元思政VR展廳項目公開招標

武漢工程大學發布思政VR展廳項目公開招標公告,預算金額180萬元,采購內容包括開國大典虛擬仿真實驗、新時代生態文明之路虛擬仿真展館等25項VR設備及系統,要求投標人于2025年11月20日前通過湖北省政府采購電子交易數據匯聚平臺或布絡供應商客戶端遞交投標文件,項目不接受聯合體投標和進口產品。
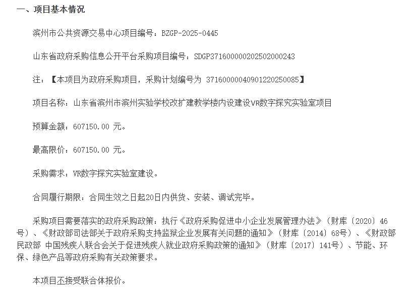
? 濱州實驗學校60.7萬采購VR數字探究實驗室項目

濱州實驗學校計劃以60.715萬元預算采購VR數字探究實驗室設備,項目編號為BZGP-2025-0445,要求供應商于2025年11月10日09:00前通過濱州市公共資源交易平臺提交響應文件。該項目不接受聯合體報價,合同履行期限為合同生效后20日內完成供貨安裝。采購公告已在山東省公共資源交易網、濱州市公共資源交易中心等平臺發布。
? 濟南工程職業技術學院30萬招標新能源與智能汽車VR虛擬實訓資源建設及師資培訓項目

濟南工程職業技術學院發布競爭性磋商公告,計劃以30萬元預算開展新能源與智能汽車VR虛擬實訓中心數字化教育資源建設及師資培訓服務項目。項目要求服務商在90個日歷日內完成交付,明確采購文件需在2025年11月6日前至濟南指定地點線下購買,響應文件提交截止時間為2025年11月11日14時,并規定了供應商資格要求及聯系方式。
? 夏普發布198g系留式VR眼鏡,11月下旬啟動眾籌

夏普宣布開發完成一款重量僅198克的系留式VR眼鏡”Xrostella VR1”,該產品通過有線連接PC或智能手機使用,采用Pancake透鏡和高分辨率顯示屏(單眼2160×2160),支持內向外六自由度追蹤和屈光度調節(0D~-9.0D)。產品計劃于2025年11月下旬通過GREEN FUNDING平臺啟動眾籌,具備視頻透視功能和配套控制器,適用于VR游戲、社交及AI訓練等場景,連接手機時可作為大屏顯示設備使用。
? 2025年11月01日美國專利局新申請AR/VR專利摘選

美國專利及商標局于2025年11月1日公布了40+篇AR/VR領域的新專利,涵蓋Meta、蘋果、谷歌、三星、索尼、高通、Snap、HTC等企業的技術方案。專利內容涉及顯示技術(如液晶間隔物設計、透明顯示器環境光管理)、交互系統(如眼動追蹤、手勢識別、骨架數據跟蹤)、硬件設計(如頭戴設備結構、波導系統)及應用功能(如虛擬鍵盤、聲場混響、體感反饋)等多個方向,反映了行業在提升XR設備性能、優化用戶體驗方面的持續創新。

