本日報由AI生成,可能存在信息錯誤,具體可查看原文。

映維日報:PICO啟動2025雙11狂歡季,日本Quest VR游戲工作室的生死轉型  第1張

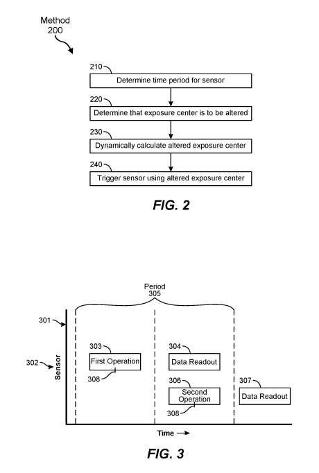
? Meta XR專利提出傳感器動態曝光配置方案

映維日報:PICO啟動2025雙11狂歡季,日本Quest VR游戲工作室的生死轉型  第2張

Meta公司提出了一種通過動態調整曝光中心和非對稱時隙來提升傳感器運行頻率的技術方案。該專利允許傳感器在保持原有功能的前提下,將運行頻率從60Hz提升至90Hz或120Hz。系統通過動態計算每個傳感器操作的最佳曝光中心位置,并采用非對稱時隙分配方式,確保不同類型的傳感器數據采集(如圖像數據和外圍跟蹤數據)能在更高頻率下完成。該技術可應用于AR/VR設備的傳感器系統,專利最初于2022年12月提交申請。

? 從敘事史詩到社交裂變:一家VR工作室的生死轉型

映維日報:PICO啟動2025雙11狂歡季,日本Quest VR游戲工作室的生死轉型  第3張

日本VR游戲開發商MyDearest在2024年底面臨旗艦項目擱淺危機后,從傳統敘事驅動型3A游戲開發轉向超休閑游戲領域。公司成立Bazooka Studio分部門,采用”單一概念沖擊法”開發模式,將開發周期從數年縮短至兩個月,并通過TikTok進行”萬次觀看測試”驗證游戲概念。其作品《Devil’s Roulette》采用免費模式發布,依靠社區反饋驅動開發,在Discord和TikTok平臺獲得良好反響。公司針對東西方市場差異采取差異化策略,西方市場側重社交混亂玩法,日本市場則通過VRChat進行沉浸式營銷。轉型后公司在8個月內發布9款游戲,實現了43%的商業成功率,證明了快速迭代和社區驅動開發模式在VR游戲領域的可行性。

? Rendever獲美國國立衛生研究院近450萬美元撥款,攜手PICO革新老年社交與護理

映維日報:PICO啟動2025雙11狂歡季,日本Quest VR游戲工作室的生死轉型  第4張

專注于老年人沉浸式服務的Rendever公司獲得美國國立衛生研究院近450萬美元資金支持,其中380萬美元將用于”居家康樂計劃”,其余資金用于構建VR護理人員支持網絡。該公司通過PICO 4和PICO G2 4k頭顯為老年人提供個性化深度體驗,特別是在臨終關懷領域幫助患者重溫珍貴記憶、探索世界,并與親友共享溫情時刻。未來三年計劃聯合行業各方構建新一代社區基礎設施,提升老年人社交健康與整體福祉。

? PICO正式啟動2025年雙十一狂歡季

映維日報:PICO啟動2025雙11狂歡季,日本Quest VR游戲工作室的生死轉型  第5張

PICO于2025年11月期間推出雙十一促銷活動,包含限時秒殺、專屬優惠券、加購折扣及DLC捆綁包四大優惠形式?;顒犹峁?00款精選應用的6折優惠券,并在11月7日至16日每晚設置限時秒殺環節,支持多款游戲內容以半價捆綁包形式銷售,活動截止時間為11月16日23:59。

? 交流電驅動納米LED問世,VR/AR顯示迎來新突破

映維日報:PICO啟動2025雙11狂歡季,日本Quest VR游戲工作室的生死轉型  第6張

南京大學研究團隊開發出一種采用交流電驅動的納米LED器件,通過單觸點設計替代傳統直流電雙電極方案,顯著簡化了納米級LED的制造工藝。該技術通過調控交流電頻率優化光電轉換效率,其300納米厚納米棒陣列結構有助于提升近眼顯示設備的像素密度,為AR/VR頭顯等設備的顯示清晰度提升提供了新的技術路徑。

? Flat2VR Studios為索尼PSVR 2帶來五款沉浸式作品

映維日報:PICO啟動2025雙11狂歡季,日本Quest VR游戲工作室的生死轉型  第7張

Flat2VR Studios宣布將于2025年11月在PSVR 2平臺陸續推出四款沉浸式游戲:競速游戲《VRacer Hoverbike》(已發售)、音樂節奏游戲《Audio Trip》(11月11日上線)、射擊游戲《Roboquest VR》(11月20日發布)和解謎冒險游戲《Shadowgate VR: The Mines of Mythrok》(11月25日發布)。同時首次公開新作《Rager》,該作采用反傳統音游設計,主打高強度戰斗和首領戰,計劃于2026年發售。所有作品均針對PSVR 2的HDR顯示、頭戴震動及眼動追蹤等特性進行了優化適配。

? 蘋果推送visionOS 26.2開發者預覽版23N5279e更新

映維日報:PICO啟動2025雙11狂歡季,日本Quest VR游戲工作室的生死轉型  第8張

蘋果公司向開發者推送了visionOS 26.2系統的測試版更新(版本號23N5279e),注冊開發者可通過設備設置中的測試版更新選項進行下載。蘋果建議安裝前備份數據,并支持在Xcode的visionOS模擬器中體驗新系統功能。

? 紅河州第二人民醫院50萬采購VR認知能力評估與訓練系統

映維日報:PICO啟動2025雙11狂歡季,日本Quest VR游戲工作室的生死轉型  第9張

紅河哈尼族彝族自治州第二人民醫院發布采購公告,計劃以50萬元預算采購一套VR認知能力評估與訓練系統,要求投標人具備醫療器械相關資質,項目不接受聯合體投標。潛在供應商需在2025年11月25日14時前通過中盈遠矚政府采購云平臺提交投標文件,合同履行期限為簽訂后30個日歷天內完成交貨安裝。

? 云之龍咨詢集團22萬采購學生社區VR心理訓練系統

映維日報:PICO啟動2025雙11狂歡季,日本Quest VR游戲工作室的生死轉型  第10張

云之龍咨詢集團有限公司發布競爭性磋商公告,計劃以22萬元預算采購“一站式”學生社區VR室虛擬現實心理訓練系統,該系統基于虛擬現實技術和系統脫敏理論開發,包含應激訓練、心理放松等不少于10個功能模塊。供應商需通過微信公眾號平臺購買采購文件,并于2025年11月17日前遞交響應文件,項目要求供應商具備合法資格且未被列入失信名單,不接受聯合體參與。

? 上海煙草天津卷煙廠95萬建設VR安全體驗中心

映維日報:PICO啟動2025雙11狂歡季,日本Quest VR游戲工作室的生死轉型  第11張

上海煙草集團有限責任公司天津卷煙廠發布招標公告,計劃投資95.06萬元建設VR安全體驗中心,項目內容包括硬件設備采購和VR資源定制開發,要求投標人具備獨立法人資格及相關資質。招標文件需在2025年11月11日前通過中煙電子采購平臺獲取,投標截止時間為11月25日9時30分,采用遠程不見面開標方式。項目工期為合同簽訂后1個月內完成系統建設,主要設備包括5D-VR體感平臺、虛擬消防滅火系統等,VR資源定制內容聚焦機械傷害和室內動火作業安全培訓。