本日報由AI生成,可能存在信息錯誤,具體可查看原文。

? 谷歌XR專利提出反射波導面的圖像旋轉控制方案

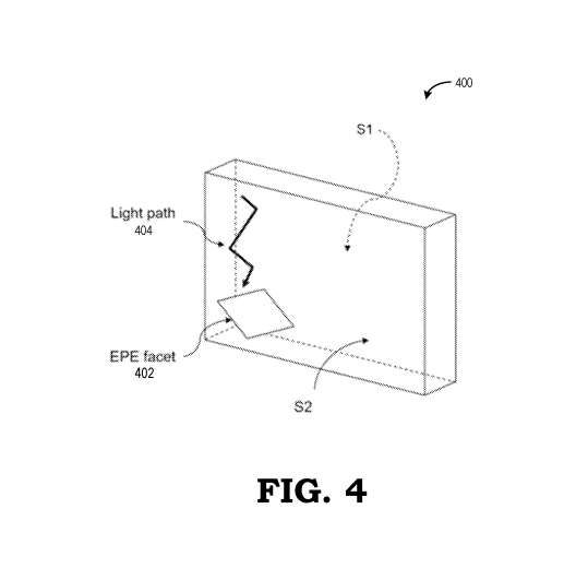
谷歌針對傳統AR眼鏡中反射波導面導致的圖像旋轉和反轉問題,提出一種新型圖像旋轉控制方案。該方案通過調整波導中反射面的角度和方向,使光線能夠從一個表面穿透反射面傳播到另一相對表面,而非傳統地將光線反射回同一表面。這種設計減少了圖像旋轉和反轉量,允許顯示源與顯示圖像方向基本一致(差異小于15度),從而為AR眼鏡等設備提供更小、更緊湊的外形設計靈活性。方案涉及耦入器、出瞳擴展器和耦出器的反射面重新配置,通過特定角度(如20-45度)實現光路優化,解決了傳統45-60度反射角帶來的設計限制。
? PICO設備管理器新增視頻加密和實時屏幕與音量管理

PICO Business Device Manager企業級設備管理器推出兩項核心功能升級:視頻加密支持通過管理平臺配置訪問權限,保護敏感媒體內容安全;實時屏幕與音量管理允許遠程調節設備亮度及音量參數,無需物理接觸頭顯。升級旨在提升企業用戶在設備部署、安全管控及能效優化方面的操作效率與綜合管理能力。
? VR助力宇航員克服返地球暈船,保持關鍵時刻清醒

科研工作者泰勒研究發現,虛擬現實頭顯可有效幫助宇航員緩解太空飛行中的暈動癥狀,包括太空暈動癥和返回地球后的再適應暈動癥。傳統藥物干預存在嗜睡等副作用且可能失效,而VR技術通過提供模擬視覺場景(如側窗或前窗視圖),顯著降低惡心反應發生率,使退出實驗的受試者比例從三分之二減少至十分之一。該方案無需依賴藥物,避免了保質期、穩定性及副作用問題,尤其適用于返回艙水上著陸等需保持警覺的緊急場景,為宇航員環境適應提供了更安全、高效的解決方案。
? 香港科大提出因果強化學習新框架,顯著提升多用戶VR交互體驗

香港科技大學研究團隊針對多用戶虛擬現實交互中的體驗質量優化問題,提出了一種融合自適應關鍵幀提取與因果感知強化學習的智能框架。該框架首先基于韋伯-費希納定律構建了綜合感知靈敏度、注意力優先級和運動重建精度的新型QoE度量指標,并將優化問題建模為混合整數規劃任務。團隊開發的PS-CDDPG算法通過狀態劃分和噪聲主動探索策略,顯著提升了訓練效率。實驗結果表明,該方案在降低交互延遲、保證用戶公平性和提升QoE方面均優于傳統方法,為資源受限環境下的VR體驗優化提供了有效解決方案。
? 江西彭澤縣太泊湖白子山123萬招標VR館項目

江西承和文化旅游發展有限公司發布招標公告,計劃以128.0765萬元預算建設彭澤縣太泊湖白子山VR館項目。該項目采用公開招標方式,要求投標人具備獨立法人資格、良好商業信譽及完稅記錄,且未被列入失信名單,不接受聯合體投標。招標文件可于2025年11月10日至14日期間在江西君志恒工程管理有限公司彭澤分公司免費獲取,投標文件遞交及開標時間為11月28日9時30分。項目資金為國有資金,由招標人自主監管,投標人需提供營業執照副本、法定代表人授權書等材料參與競標。
? 漢莎航空如何用VR革新乘務員安全培訓

漢莎航空培訓公司聯合德國聯邦交通部、蘇黎世聯邦理工學院等機構,開發了一套價值240萬歐元的VR乘務員安全培訓系統D-CEET。該系統通過空客A320neo客艙的數字孿生模型,模擬煙霧、火災、緊急撤離等15種場景,并記錄學員動作和決策數據用于個性化分析。該便攜式系統可隨時隨地進行培訓,補充而非取代實體模擬器,符合國際民航組織能力本位培訓標準,旨在提升培訓靈活性及數據驅動的科學評估能力,是漢莎航空數字化轉型的重要組成部分。
? 江蘇食品藥品職業技術學院49萬招標虛擬仿真實訓室VR軟件

江蘇食品藥品職業技術學院發布招標公告,計劃以49萬元預算采購13套虛擬仿真實訓室VR軟件,要求軟件必須匹配學院現有的PICO A9210型號VR一體機設備。投標人需具備獨立法人資格、良好商業信譽及完稅記錄,且未被列入失信名單,不接受聯合體投標。招標文件可通過江蘇省招標中心有限公司電子平臺免費獲取,需支付500元平臺服務費。投標文件遞交截止時間為2025年11月28日9時,開標同步進行。項目資金已落實,由學院監督部門全程監管。
? 甘肅中醫藥大學附屬醫院20萬采購VR認知訓練系統

甘肅中醫藥大學附屬醫院發布招標公告,計劃以19.8萬元預算采購VR認知訓練系統,項目資金為醫院自籌。投標人需在2025年11月10日至14日期間前往蘭州誠信招標代理有限公司免費獲取招標文件,并于11月20日15時前遞交投標文件。該項目不接受聯合體投標,開標將于投標截止時間同日在代理機構開標廳進行。招標過程由醫院監督部門監管,具體技術參數及要求詳見招標文件附件。
? 東北大學356.75萬元采購工業智能虛擬現實教學實驗平臺

東北大學發布招標公告,計劃以356.75萬元預算采購工業智能虛擬現實教學實驗平臺,項目編號為DDWK2025126。投標人需滿足政府采購法第二十二條規定,不接受聯合體投標。招標文件需在2025年11月13日前通過郵箱申請獲取,費用500元,投標截止時間為2025年11月27日10時30分。采購要求落實節能環保、小微企業等政府采購政策,合同履行期限為簽訂后30個工作日。項目由遼寧堯舜禹項目管理有限公司代理,開標地點設在東北大學計算機中心。
? 廣東科學技術職業學300萬采購虛擬現實資源開發大模型平臺

廣東科學技術職業學院發布公開招標公告,計劃以300萬元預算采購一套虛擬現實資源開發大模型平臺,包括虛擬現實資源開發管理平臺和虛擬現實資源開發大模型一體機。該項目不接受聯合體投標,要求投標人符合政府采購法第二十二條規定的條件,未被列入信用中國及中國政府采購網的嚴重失信名單。投標文件需通過廣東省政府采購網在線提交,截止時間為2025年11月27日9時30分。
? 2025年011月08日美國專利局新申請AR/VR專利摘選

近期美國專利及商標局公布了一批AR/VR相關專利,涉及Meta、蘋果、谷歌、三星、索尼、微軟、高通、Snap和HTC等多家公司。這些專利涵蓋了表情估計、眼動追蹤、穿戴設備設計、用戶界面交互、圖像處理、音頻控制、分布式渲染、波導技術以及區塊鏈虛擬對象等多個技術方向,旨在提升虛擬現實、增強現實和混合現實設備的用戶體驗與系統性能。

