本日報由AI生成,可能存在信息錯誤,具體可查看原文。

? 傳V社周三發布新VR頭顯,《半衰期 3》有望成殺手級首發作品

根據Reddit社區和Discord消息,Valve據傳將于本周三發布名為Steam Frame的新款VR頭顯,該設備采用驍龍8 Gen 3處理器和JDI提供的2160×2160分辨率120Hz面板,支持SLAM追蹤、眼動追蹤及新款電容感應控制器。此次發布可能標志著Valve在VR設計理念上的重大轉變,引入類似Apple Vision Pro的”Frames”浮動窗口交互系統。消息稱該頭顯或將與進入打磨階段的《半衰期3》捆綁發布,延續《半衰期:愛莉克斯》與Index頭顯的軟硬件協同策略。
? 顯示專家Karl Guttag:Meta Ray-Ban Display技術解析(Part 1)

顯示技術專家Karl Guttag對Meta Ray-Ban智能眼鏡的光學系統進行深度解析,確認其采用Lumus幾何波導和OmniVision LCOS微顯示器組合方案。該設計突破性地放棄Meta自研衍射波導技術,轉而利用Lumus波導的高效率(3-7倍于衍射波導)和低眼部反光特性(僅1.5%亮度泄漏),配合OmniVision高度集成的LCOS芯片(集成控制電路與幀緩沖器)。光學引擎由歌爾股份設計,實測顯示亮度達5000尼特,對比度600:1,但存在圖像柔和(有效分辨率約400x400像素)和場序彩色分離問題。專家指出該產品標志著AR眼鏡技術路線的重要轉向——當面臨量產壓力時,Meta選擇成熟商用方案而非實驗室技術,其中Lumus波導的采用尤其凸顯幾何光學在亮度與用戶體驗上的優勢。
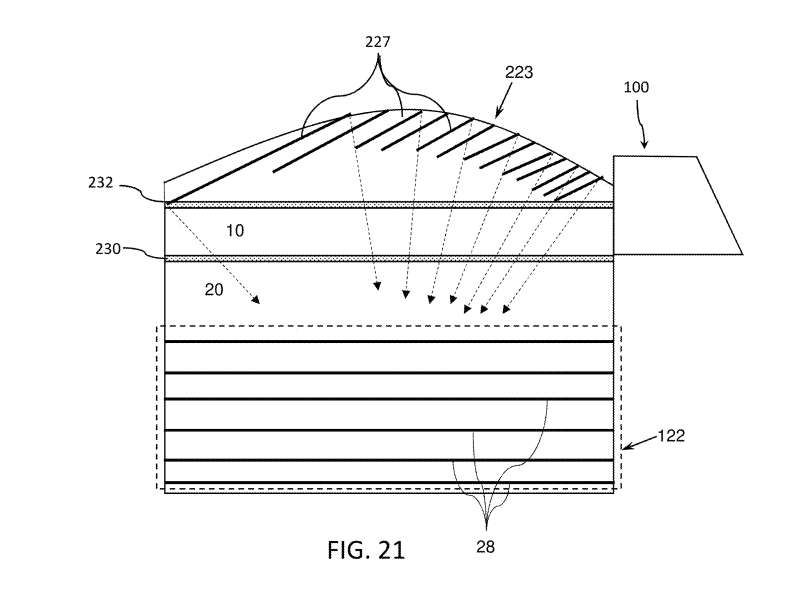
? Lumus提出部分內反射矩形光導結構簡化AR眼鏡制造

Lumus公司提出一種新型光學系統設計方案,通過采用部分內反射矩形光導(PRLG)結合外部反射面的結構,替代傳統依賴精密雕刻內部反射面的復雜工藝。該設計利用特殊涂層使光在簡單矩形玻璃塊中通過四重內反射傳播并逐漸”泄漏”,再通過外部反射面引導至目鏡,在保持光學性能的同時大幅降低制造難度和成本。該系統支持多階段孔徑擴展,可適配不同偏振和角度的光線傳輸,并通過優化涂層反射率實現光路控制,適用于輕量化、低成本的AR眼鏡顯示設備。該技術已提交美國專利申請,旨在解決現有AR設備在小型化、成本與圖像質量間的平衡難題。
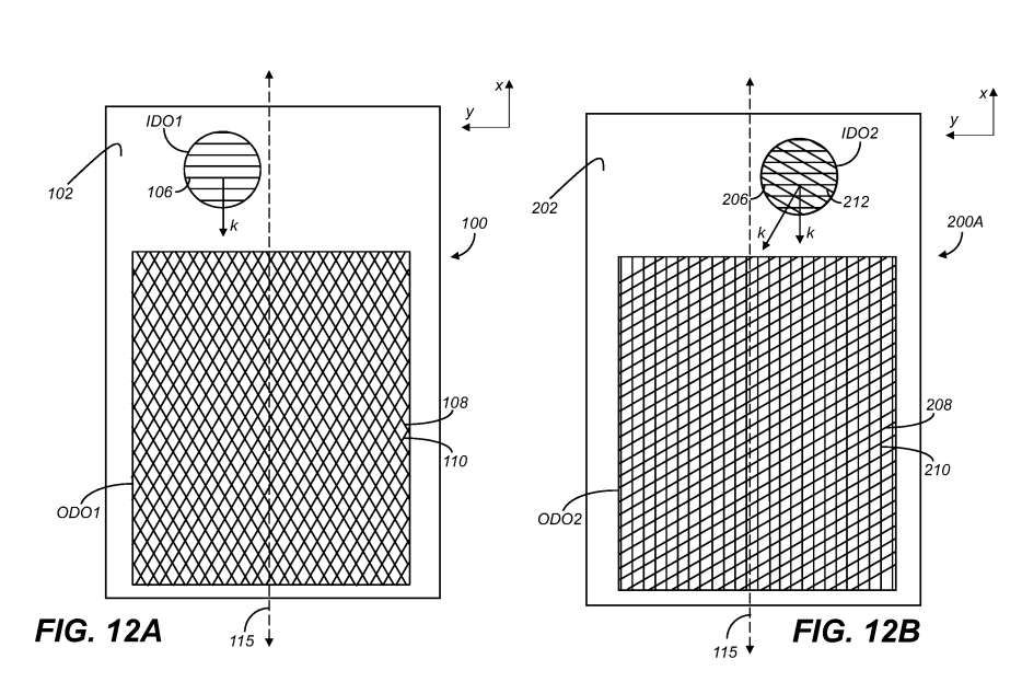
? Vuzix提出雙折射率波導結構優化AR眼鏡色彩表現

Vuzix公司提出一種新型雙波導結構設計方案,通過采用低折射率波導傳輸易衰減的藍光、高折射率波導同時傳輸綠光和紅光,解決了傳統三波導AR眼鏡存在的結構復雜、重量過大及藍光衰減問題。該專利技術利用特定角度的衍射光柵(30°-60°偏移)和不同折射率材料(1.4-1.7低折射率材料傳輸440-470nm藍光,1.8-2.0高折射率材料傳輸520-560nm綠光和630-660nm紅光),在減少波導層數的同時提升色彩還原度與亮度,相比傳統三波導方案可降低設備重量30%并減少衍射偽影。該設計已通過美國專利商標局審核,適用于下一代輕量化AR眼鏡顯示系統。
? 呼和浩特食品醫藥衛生學校265萬元招標護理急救VR實訓中心

呼和浩特市食品與醫藥衛生學校發布采購公告,計劃以265萬元預算建設基礎護理與急救VR虛實結合實訓中心,項目編號為150101-HSZC-XJ-20250022。該項目采用詢價采購方式,要求投標人滿足政府采購法第二十二條規定資格,且不接受聯合體投標。供應商需通過內蒙古自治區政府采購云平臺在線免費獲取招標文件,并于2025年11月21日9時30分前提交響應文件。項目合同履行期限為簽訂后30日內完成安裝調試,開標將通過線上遠程大廳進行。采購人聯系方式及融資支持信息同步公開。
? Precision Optics簽署產品開發協議,為美軍飛行員提供新一代AR子系統

Precision Optics公司獲得一項價值72.3萬美元的產品開發訂單,為美國空軍戰斗機飛行員的增強現實訓練系統制造高精度光學子組件。該系統旨在使飛行員在實戰飛機駕駛艙內通過AR頭顯進行模擬作戰訓練,無需輔助飛機配合,以降低成本和訓練事故風險。訂單重點涉及緊湊型光學系統的設計、原型制作與性能驗證,標志著AR技術從陸基訓練向空中實戰化訓練場景的拓展。
? AR技術與視網膜植入芯片為視力喪失者帶來光明

歐洲研究團隊開發了一種名為PRIMA的視網膜植入系統,結合增強現實眼鏡,成功為干性年齡相關性黃斑變性患者恢復中心視力。該系統通過植入僅2毫米寬的超薄光伏微芯片替代受損光感受器細胞,配合AR眼鏡攝像頭捕獲圖像,經AI算法處理后將紅外信號傳輸至芯片,最終轉化為電信號刺激視神經。臨床試驗顯示,84%的完全失明參與者重獲字母識別能力,81%的患者視力敏銳度顯著改善,且無嚴重長期副作用。該系統不干擾周邊視力,支持功能升級,為視網膜疾病治療開辟了新路徑。
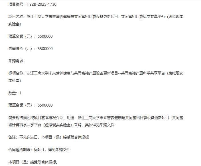
? 浙江工商大學550萬元招標虛擬現實實驗室項目

浙江工商大學發布采購公告,計劃以550萬元預算招標建設未來營養健康與共同富裕計算科學共享平臺中的虛擬現實實驗室項目。該項目不接受進口產品,允許聯合體投標,要求投標人需滿足政府采購法規定且無不良信用記錄。投標文件需通過政采云平臺獲取和提交,截止時間為2025年11月28日9時30分。
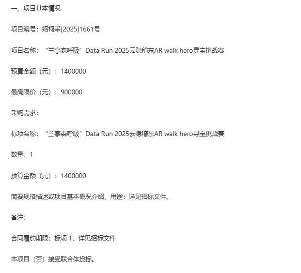
? 柯橋區稽東鎮140萬元招標AR尋寶挑戰賽項目

紹興市柯橋區稽東鎮人民政府發布采購公告,計劃以140萬元預算招標”蘭亭森呼吸”Data Run 2025云隱稽東AR walk hero尋寶挑戰賽項目。該項目專門面向中小企業采購,最高限價90萬元,要求投標人需滿足政府采購法規定且未被列入失信名單。投標文件需于2025年11月26日前通過政采云平臺提交,開標將在稽東鎮紅立方開標室通過線上方式進行。

