本日報由AI生成,可能存在信息錯誤,具體可查看原文。

? Meta Ray-Ban Display評測,體驗“后手機時代”的初代答案

本文基于大衛·希尼對Meta Ray-Ban Display智能眼鏡為期一個月的實際使用體驗,詳細評估了該設備的各項特性。評測指出,眼鏡在物理佩戴舒適度、顯示屏清晰度、通過Meta Neural Band腕帶實現的手勢控制以及特定場景下的實用性(如第一人稱視角拍照、消息篩選、步行導航和實時翻譯)方面表現良好。然而,設備也存在明顯局限:單目顯示屏可能引起視覺疲勞,社交接受度因其笨重外觀而受限,功能嚴重依賴手機藍牙連接導致延遲,且缺乏對Gmail、谷歌地圖等成熟服務的集成。最終結論認為,這是一款具有潛力但尚不成熟的第一代產品,主要適合追求新技術的早期使用者,普通消費者則建議等待未來具備雙目顯示和蜂窩網絡連接的迭代版本。
? 德國科學家研發300×300納米發光像素,解鎖超緊湊型可穿戴顯示新可能

德國維爾茨堡大學物理學家團隊利用光學天線技術成功研制出尺寸僅300×300納米的全球最小發光像素,其亮度與常規5×5微米OLED像素相當。該技術通過在黃金光學天線上方添加特制絕緣層并預留200納米圓形開口,有效解決了納米尺度下電流分布不均導致的材料遷移和短路問題,使像素在室溫下穩定運行兩周。這一突破使得1920×1080分辨率顯示屏可集成于1平方毫米區域內,為智能眼鏡鏡腿嵌入式顯示及可穿戴設備超緊湊投影系統奠定基礎。團隊下一步計劃將當前1%的光電效率進一步提升,并擴展至全彩RGB色域。
? 超表面技術有望提升AR圖像清晰度與亮度

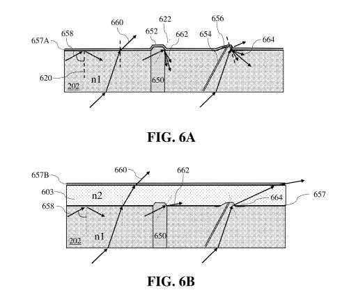
羅切斯特大學研究團隊設計了一種基于超表面技術的新型三區耦入器,通過替代傳統單一波導結構,將AR眼鏡的圖像輸入效率提升至平均30%。該技術利用納米級超表面圖案分別優化光捕獲、防回漏及光形保持功能,在-10°至10°水平視場內實現高圖像質量與能效平衡。目前原型僅支持單色(綠光)演示,下一步將擴展至全彩系統并開發低成本量產工藝,為輕量化、高亮度AR眼鏡的實用化奠定基礎。
? VR造成干眼?日本科學家認為恰恰相反

日本早稻田大學與京都府立醫科大學的研究團隊設計了一種集成超小型攝像頭的VR頭顯,通過實時觀察14名健康參與者在30分鐘VR游戲過程中的淚膜脂質層干涉圖案,發現淚膜脂質層厚度隨使用時間顯著增加,同時角膜和上眼瞼溫度升高。研究認為,頭顯內部的熱環境可能促進脂質層增厚,而此前研究已表明脂質層增厚與淚膜穩定性增強相關。該發現為VR頭顯設計提供了潛在優化方向,但需進一步研究驗證其對干眼癥患者的影響,且本次實驗未設置非頭顯使用對照組。
? 第一視角躍上尼米茲號航母,蘋果沉浸式新作讓用戶與F-18飛行員并肩飛行

蘋果公司為紀念美國退伍軍人節推出名為《Flight Ready》的14分鐘沉浸式影片,通過Apple Vision Pro頭顯呈現尼米茲號航空母艦飛行甲板與F-18戰斗機飛行員協同作戰的體驗。該片延續2024年海底主題影片《Submerged》的技術路線,利用空間視頻拍攝與編輯工具(如DaVinci Resolve Studio)制作,目前僅支持Vision Pro設備觀看,暫未推出2D版本。此舉反映蘋果持續拓展沉浸式內容生態,同時借助軍事題材強化設備在特種場景的應用價值。
? Lumus專利提出復合聚合物光導結構解決XR設備粘接熱膨脹問題

Lumus公司在一項專利申請中提出采用多層復合聚合物結構解決XR設備中光導元件與保護性透明板(如聚碳酸酯板)因材料熱膨脹系數差異導致的粘接層易斷裂、光散射及全內反射失效問題。該技術通過分離功能層設計:內層使用超薄(1-2微米)低折射率聚合物維持光導內全內反射,外層采用高柔韌性聚合物(如13微米厚)吸收熱膨脹差產生的機械應力,同時通過預集成堆疊工藝實現各層協同固化。實測顯示該結構可將相對熱膨脹從單層粘合劑的29微米降至多層體系的更低值,顯著減少散射光干擾并提升光學穩定性,為XR顯示模組的機械可靠性和圖像質量提供保障。
? Varjo專利提出動態光導顯示技術提升XR頭顯視覺精度

Varjo公司在一項專利申請中提出了一種動態可控光導系統,通過實時眼球追蹤技術結合可獨立控制的導光段,將光源像素組的光線精確聚焦至用戶瞳孔。該技術解決了XR頭顯在近距離顯示時因視角微小變化導致的光線散射、反射及視覺偽影問題。系統包含注視追蹤裝置、多像素光源、分段落光導及處理器,處理器根據瞳孔位置、注視方向和取向動態調整導光段,實現光線精準導向,有效提升圖像清晰度、色彩還原度并抑制重影。該方案還可通過識別遠離注視點的像素組并將其光線導向透鏡中心或吸收涂層,進一步減少光學腔內的雜散反射和衍射,為沉浸式XR體驗提供核心光學支撐。
? 江西省工業和信息化廳50萬元采購VR+頻譜地圖數據分析服務

江西省工業和信息化廳發布競爭性磋商公告,計劃以50萬元預算采購VR+頻譜地圖數據分析和場景試點服務。該項目不接受聯合體投標,要求供應商滿足《政府采購法》第二十二條規定的基本資格條件,并落實促進中小企業發展等政府采購政策。潛在投標人需通過江西省公共資源數智交易平臺獲取招標文件,并于2025年11月24日9點30分前通過”不見面開標”系統提交響應文件。采購公告期限為自發布之日起3個工作日。
? 天津中德應用技術大學采購AR仿真模擬平臺預算110萬元

天津中德應用技術大學計劃以110萬元預算采購精益數字化與柔性智能制造AR仿真模擬平臺,該項目專門面向中小企業采購,要求投標人滿足政府采購法相關規定并在2025年12月1日前提交投標文件,設備需于2026年4月15日前完成安裝調試。
? 四川觀察合創新媒體公司49萬元招標VR內容生產設備

四川觀察合創新媒體發展有限公司發布采購公告,計劃以49萬元預算采購2025年度VR內容生產設備,項目資金來源于企業自籌。該項目采用公開招標方式,要求投標人具備獨立法人資格、良好商業信譽及履行合同所需的技術能力,且不接受聯合體投標。供應商需通過現場或郵件方式支付500元獲取招標文件,并于2025年11月21日10時前遞交紙質投標材料至成都代理機構。開標將于同日同地舉行,項目全程由招標人自行監督。

