文章相關引用及參考:中國AI網
一共更新了39篇專利。
(中國AI網 2025年11月15日)近期美國專利及商標局公布了一批全新的AR/VR專利,以下是映維網的整理(詳情請點擊專利標題),一共39篇。更多專利披露請訪問映維網專利板塊https://patent.nweon.com/進行檢索,你同時可以加入映維網AR/VR專利交流微信群(詳見文末)。
1. 《Meta Patent:Reflective polarizer having highly uniform optical axis(Meta專利:具有高度均勻光軸的反射型偏振器)》

在一個實施例中,專利描述的聚合物多層具有橫向尺寸至少約為0.5m的區域,其中所述區域的光軸偏差小于約1.2度。聚合物多層可以包括反射偏振器和四分之一波片。
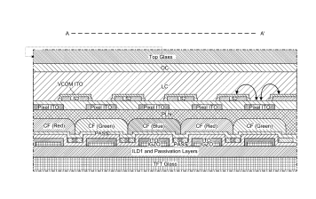
2. 《Meta Patent:High resolution lcd pixel design with via contact channel and additional light shielding layer(Meta專利:帶通孔接觸通道和額外遮光層的高分辨率LCD像素設計)》

......(全文 7132 字,剩余 6879 字)
請微信掃碼通過小程序閱讀完整文章或者登入網站閱讀完整文章
映維網會員可直接登入網站閱讀
PICO員工可聯系映維網免費獲取權限

