本日報由AI生成,可能存在信息錯誤,具體可查看原文。

? 降價20%促銷!Ray-Ban Meta智能眼鏡開啟黑五優惠

Meta在2025年黑色星期五期間對第一代Ray-Ban Meta智能眼鏡進行限時促銷,價格從原價約300美元降至239-240美元。該促銷活動從即日起持續至12月1日,在美國、歐洲、澳大利亞等多國同步開展,消費者可通過Meta官網、亞馬遜等多個渠道購買。第一代產品具備1200萬像素攝像頭、4小時續航等功能,同時Meta官網還提供配鏡片8折優惠。
? 《浪浪山小妖怪》上線PICO,參與互動贏線下大空間體驗資格

動畫電影《浪浪山小妖怪》推出XR版本,在愛奇藝XR平臺上線3D電影版的同時,基于該IP打造的沉浸式互動內容《浪浪山小妖怪:妖你同行XR》已在全國16家線下門店推出。該作品由多家公司聯合開發,采用高精度建模技術重現電影中的水墨風場景,讓用戶通過扮演小豬妖參與互動冒險。為推廣該體驗,PICO平臺舉辦有獎活動,參與者可通過在論壇發帖分享故事贏取免費體驗券,活動截至11月23日,計劃選出10位獲獎用戶。
? 2025年11月22日美國專利局新申請AR/VR專利摘選

2025年11月22日,美國專利商標局公布了一批全新的增強現實和虛擬現實相關專利,共計56篇,由映維網整理。這些專利涵蓋了硬件設計、交互技術、顯示系統、內容生成等多個方面,涉及Meta、蘋果、谷歌、高通、三星、索尼、Snap、HTC等多家科技公司。具體技術內容包括觸覺文件轉換、波導顯示、手勢識別、視線追蹤、3D模型生成、圖像處理等,反映了當前AR/VR領域的技術研發重點和方向。
? 中興通訊發布5G-A VMAX虛擬現實電影方案

中興通訊推出基于5G-A技術的VMAX虛擬現實電影解決方案,該方案整合了EasyOn·Meta專網和數字星云XRExplore元宇宙引擎,通過網媒融合策略解決傳統行進式VR電影在運營效率、設備體驗和內容創作方面的痛點。系統支持100路并發用戶、4K@90fps超高清畫質傳輸,利用邊緣云渲染技術實現動態資源調度,并具備多品牌頭顯兼容性,旨在降低VR電影開發成本并推動文化數字化應用發展。
? 從文本到沉浸式3D世界,Meta發布端到端系統WorldGen

Meta發布了一項名為WorldGen的端到端系統,能夠根據單一文本提示生成交互式且可導航的3D世界。該系統結合了程序化推理、基于擴散模型的3D生成和場景分解技術,可生成幾何結構一致、視覺效果豐富的場景,覆蓋范圍達50x50米,并能保持風格和幾何結構的完整性。WorldGen生成的內容與Unity和Unreal等標準游戲引擎兼容。不過,這項技術目前仍處于研究階段,尚未對開發者開放,未來版本將致力于生成更大的空間并降低延遲,以降低3D內容創作的門檻。
? PICO 4驅動,西班牙主體樂園邀你與侏羅紀巨獸同行

西班牙PortAventura World主題樂園推出名為”ULUM探險:侏羅紀覺醒”的沉浸式體驗項目,游客通過佩戴PICO 4 Ultra Enterprise頭顯進入墨西哥尤卡坦半島天然井的虛擬場景,與數字生成的侏羅紀生物互動。該項目將實體布景與擴展現實技術相結合,支持游客以小組形式自由移動,通過隱形化的技術處理讓參與者專注于敘事體驗,展現了XR技術在主題樂園中打破傳統邊界、創造家庭娛樂新形式的創新應用。
? Shoei推出首款完全集成AR技術的摩托車頭盔

Shoei公司推出首款完全集成增強現實技術的摩托車頭盔GT-Air 3 Smart,該產品在面罩中內置平視顯示器,可將車速、導航信息、來電提醒等騎行數據投射到用戶前方三米處的視場中。采用納米OLED顯示屏技術確保陽光直射下的可視性,配備通用對講系統和主動降噪麥克風,支持語音助手功能,電池續航超過10小時。產品符合DOT和ECE 22.06安全標準,提供五種顏色選擇,售價1199美元。
? 美國西北大學工程師研發”人類分辨率”觸覺設備

美國西北大學研究團隊開發出名為VoxeLite的超薄可穿戴觸覺設備,首次實現”人類分辨率”的觸覺反饋。該設備采用柔性乳膠片設計,內含可獨立控制的微型節點陣列,節點間距最小達1毫米,能以每秒800次的速度精準模擬紋理觸感。測試顯示佩戴者識別虛擬紋理和真實織物的準確率分別達到87%和81%。VoxeLite具備主動和被動兩種工作模式,在主動模式下可生成精細觸覺信號,被動模式下則幾乎無感佩戴,允許用戶在真實與數字體驗間無縫切換。這項技術為虛擬現實系統提供了接近真實觸覺的交互能力。
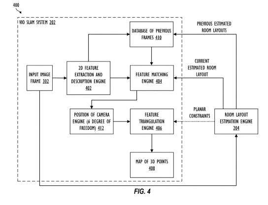
? 蘋果XR專利提出端到端房間布局估算引擎

蘋果公司提出了一種端到端的房間布局估計引擎,該技術通過析取范式模型直接從圖像學習平面參數,無需后處理即可生成完整的三維房間布局。該引擎能夠為地板、墻壁、天花板等不同房間布局類別分別生成預測平面,然后將這些平面拼接形成最終布局估計。與傳統方法相比,該技術不受曼哈頓世界假設和固定布局類型的限制,能夠處理曲面結構和復雜場景,提高了在XR環境中幾何建模的精度和計算效率,并可集成到視覺慣性里程計SLAM系統中提升特征匹配和三維重建的準確性。
? 紐約大學團隊提出A3FR框架降低VR渲染延遲

紐約大學坦登工程學院研究團隊針對虛擬現實系統中高質量實時渲染的挑戰,提出了一種名為A3FR的創新框架。該框架通過并行化架構設計,將注視跟蹤任務分配給CPU處理,同時由GPU執行3D高斯飛濺渲染,并結合漸進式注視預測和增量渲染策略,有效降低了系統延遲。實驗結果表明,A3FR能在1080p分辨率下將渲染延遲從傳統全分辨率渲染的67毫秒降至40毫秒,降幅達2倍,同時通過用戶研究驗證了其視覺質量與全分辨率渲染無顯著差異。這一技術為下一代輕量化VR設備的發展提供了新的技術路徑。
? 以色列與Meta團隊開發可穿戴陣列Ambisonics編碼器改進雙耳再現

以色列本·古里安大學與Meta的研究團隊提出一種改進的Ambisonics編碼器,專為非理想布局的可穿戴麥克風陣列設計。該方法通過構建聯合損失函數,將Ambisonics信號匹配(ASM)和雙耳信號匹配(BSM)目標整合在一個優化框架內,利用平衡參數α在Ambisonics編碼準確性和雙耳再現質量之間實現靈活權衡。仿真實驗基于5麥克風眼鏡陣列和剛性球頭模型,結果表明當α=0.5時,該方法在僅輕微增加雙耳誤差的同時,顯著降低了Ambisonics通道重建誤差,為VR/AR應用提供了兼顧格式通用性與聽覺真實性的編碼方案。
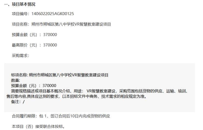
? 朔州市朔城區第八中學校37萬招標VR智慧教室建設

朔州市朔城區第八中學校發布VR智慧教室建設項目招標公告,預算金額37萬元,采購內容包括VR智慧教室建設的貨物供應、運輸、培訓及售后服務。該項目專門面向中小企業采購,潛在投標人需通過中國政府采購網山西分網獲取招標文件,并于2025年12月10日9點30分前提交投標文件,開標采用遠程方式進行。
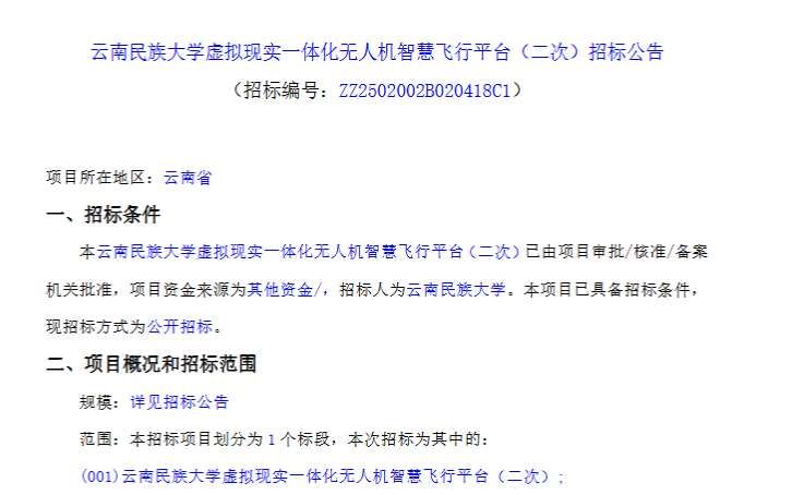
? 云南民族大學44萬采購虛擬現實無人機飛行平臺

云南民族大學發布二次公告,計劃以43.95萬元預算采購虛擬現實一體化無人機智慧飛行平臺,包含無人機機庫、機載計算板卡、小型旋翼無人機平臺及虛擬仿真云平臺等設備。項目采用公開招標方式,要求投標人提供整體解決方案,合同履行期為簽訂后30個工作日內完成安裝調試。投標文件需在2025年12月15日前遞交,招標代理機構為云南中咨海外咨詢有限公司。該項目明確不接受進口產品投標。
? 廣西工商職業技術學院35萬元采購虛擬現實專業課程資源包

廣西工商職業技術學院發布公告,計劃以35萬元預算采購虛擬現實技術應用專業課程資源包,包括虛擬現實引擎應用、插件應用、硬件開發和項目開發四個基礎課程資源包,以及3年產教融合服務、裸眼3D創作軟件和共享云平臺等配套資源。項目采用競爭性磋商采購方式,供應商需通過微信公眾號平臺獲取采購文件,響應文件提交截止時間為2025年12月1日。采購要求供應商符合政府采購法相關規定,且未被列入失信名單。
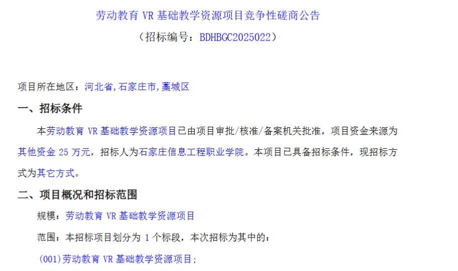
? 石家莊信息工程職業學院25萬元招標勞動教育VR教學資源項目

石家莊信息工程職業學院發布公告,計劃以25萬元預算開展勞動教育VR基礎教學資源項目招標。該項目專門面向小型或微型企業采購,要求投標人符合政府采購法規定且無不良信用記錄。招標文件需在2025年11月27日前通過郵箱報名獲取,投標截止時間為12月4日,開標將在石家莊市裕華區指定地點進行。項目不允許聯合體投標,招標代理機構為鑫標點工程管理有限公司。

