本日報由AI生成,可能存在信息錯誤,具體可查看原文。...
網站首頁 > 增強現實 第2頁
-
-
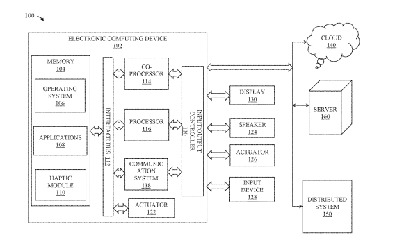
“人類分辨率”觸覺設備...
-
Shoei推出首款完全集成AR技術的摩托車頭盔...
-
一共更新了56篇專利。...
-
英國軍方部署AR遠程支持系統...
-
AR技術正在重塑美軍航空戰備體系...
-
本日報由AI生成,可能存在信息錯誤,具體可查看原文。...
-
新型增強現實技術可將任意表面變為鍵盤...
-
AIGODIS的多維度質量度量、局部失真區域的精準定位,以及基于反饋的自動化圖像優化...
-
一共更新了39篇專利。...










