6月17日登陸索尼PSVR 2(中國AI網 2025年05月30日)喜歡網球嗎?但又苦惱于時間,裝備,資金或球友等問題?名為《Badminton Time VR》的沉浸式網球游戲將于6月17日登陸索尼PSVR 2,從而為你帶...
-
-
Meta Quest Store統計分析報告(中國AI網 2025年05月28日)今天映維網正式發布了Meta Quest Store 統計分析發展報告,本報告從增長、玩法模式、游戲應用分類、體裁、評分、開發者、發行下架等各...
-
所提出方法顯著增加了高質量偽標簽的數量,并且比基線方法提高了自適應性能(中國AI網 2025年05月29日)多模態3D語義分割對于虛擬現實等應用至關重要。為了在現實場景中有效地部署模型,必須采用跨領域適應技術,以彌合訓練數據...
-
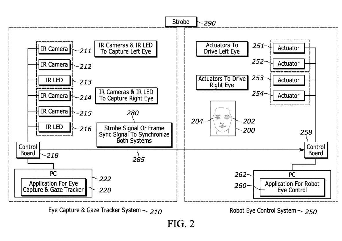
利用機器人眼系統來進行眼動追蹤驗證(中國AI網 2025年05月29日)眼動追蹤正逐漸成為頭顯的標配功能。然而,不準確的眼動追蹤軟件會給頭顯造成不利影響。所以,有必要提供一定的技術解決方案來驗證眼動追蹤軟件的準確性。在一份專...
-
將彈性體轉換為豐富而細致的交互式控制器(中國AI網 2025年05月29日)在一項研究中,索尼團隊提出了一種基于光學的觸覺傳感器NeuroTouch。它將高度可變形的圓頂狀柔性材料與集成的神經形態攝像頭結合在一起,利用基于幀...
-
8月13日發行(中國AI網 2025年05月29日)Saber Interactive日前宣布,將把《僵尸世界大戰》帶到VR,而名為《僵尸世界大戰 VR》的沉浸式體驗將會在今年8月13日與大家見面,支持Meta Quest和...
-
為改進基于高斯的人群渲染系統提供了堅實的基礎,對需要可擴展和逼真可視化的實時應用具有實際意義(中國AI網 2025年05月28日)高效逼真的人群渲染是虛擬現實等實時圖形應用的重要組成。業界正在探索3DGS在實時人群渲染方面的...
-
隨時間調節亮度的技術,同時最大限度地減少可見細節的潛在損失,并避免明顯的時間不穩定性(中國AI網 2025年05月28日)現代VR頭顯需要大量的計算資源來實時渲染高分辨率的內容。所以,優先考慮效率變得至關重要,特別是對于一體...
-
優惠50美元(中國AI網 2025年05月28日)索尼一年一度的“Days of Play”活動將于5月28日至6月1日舉行,而官方為PSVR 2頭顯提供了50美元的優惠。換句話說,原價399.99美元的設備屆時只需349....
-
年內發行(中國AI網 2025年05月28日)最初于2016年發行的《隱身特工/Unseen Diplomacy》曾在Steam收獲了“特別好評”的評價?,F在,開發團隊Triangular Pixels宣布續作《Unseen...










