Vuzix加入增強現實聯盟AR Alliance...
網站首頁 > Vuzix
-
-
本日報由AI生成,可能存在信息錯誤,具體可查看原文。...
-
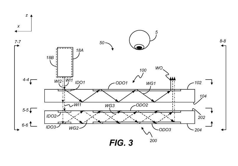
雙折射率波導堆棧...
-
本日報由AI生成,可能存在信息錯誤,具體可查看原文。...
-
本日報由AI生成,可能存在信息錯誤,具體可查看原文。...
-
本日報由AI生成,可能存在信息錯誤,具體可查看原文。...
-
Vuzix與BUNDLAR達成戰略合作,將BUNDLAR的無代碼內容管理平臺“Knowledge Now”與Vuzix智能眼鏡硬件集成,為企業及政府客戶提供無需編程的沉浸式XR解決方案。該方案旨在降低培訓成本、提升現場服務效...
-
Vuzix與TCL華星正積極聯合開發全彩Micro LED與波導光學解決方案,并計劃于2026年初發布...
-
本日報由AI生成,可能存在信息錯誤,具體可查看原文。...
-
本日報由AI生成,可能存在信息錯誤,具體可查看原文。...
1
2










