具有超清畫面的Tiramisu和具有超寬視場的Boba3(中國AI網 2025年08月08日)Meta旗下的RealityLabs日前宣布,將在下周舉行的SIGGRAPH2025展示全新的頭顯原型:具有超清畫面的Tirami...
-
-
定于8月29日推出(中國AI網 2025年08月06日)盡管Windows 11已經停止了對WMR平臺的支持,結束了PC VR頭顯領域的嘗試,但現在一個非官方的SteamVR驅動程序Oasis希望為用戶重用相關頭顯提供幫助。...
-
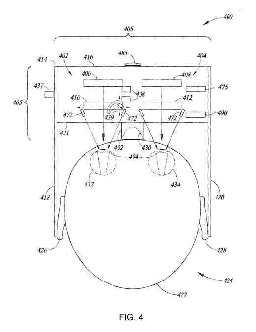
眼動追蹤校準(中國AI網 2025年08月06日)眼動追蹤(ET)對于AR/VR頭顯的一系列應用和功能變得越來越重要。通常情況下,工廠會在將頭戴式設備發布給客戶之前對其進行校準。但發貨后的產品可能會受到各種機械或熱效應的影響...
-
將于8月28日登陸SteamVR和索尼PSVR 2(中國AI網 2025年08月08日)熱門Quest游戲《Into Black》確認,將于8月28日登陸SteamVR和索尼PSVR 2。...
-
本日報由AI生成,可能存在信息錯誤,具體可查看原文。? Meta突破性技術實現Quest 3同時渲染3個高保真虛擬化身...
-
安徽徽州歷史博物館引入PICO頭顯,為訪客提供沉浸式科技與史前奇觀體驗(中國AI網 2025年08月09日)根據歙縣融媒報道,安徽徽州歷史博物館日前正式引入PICO頭顯,為訪客提供沉浸式科技與史前奇觀體驗。...
-
估計注視距離(中國AI網 2025年08月11日)虛擬現實中的眼動追蹤技術可以提高真實感和沉浸感。知道被注視對象的距離,而不僅僅是注視方向,是至關重要的。一種常用的方法是估計視線距離,即兩眼之間的相對角度,但這種方法的準確性...
-
潛在投標人應在廣東省政府采購網https://gdgpo.czt.gd.gov.cn/獲取招標文件,并于 2025年08月22日 09時00分 (北京時間)前遞交投標文件。(中國AI網 2025年08月04日)廣州鐵路職業技...
-
確保真實對象和虛擬對象對齊(中國AI網 2025年08月06日)對于XR眼鏡,由于眼鏡的框架,鏡片材料的柔性和可變形性質可能導致顯示器對齊不一致,或顯示器對齊錯誤,并導致視覺不適,特別是在雙目顯示的情況下。在一份專利申請中,...
-
免手操作的移動機制(中國AI網 2025年08月04日)在虛擬現實環境中,移動機制在塑造用戶體驗方面起著至關重要的作用。特別是,免手操作的移動機制提供了一個有價值的選擇,通過支持無障礙性和解放用戶對手持控制器的依賴。傳統的語...










