一共更新了52篇專利。
(中國AI網 2025年05月24日)近期美國專利及商標局公布了一批全新的AR/VR專利,以下是映維網的整理(詳情請點擊專利標題),一共52篇。更多專利披露請訪問映維網專利板塊https://patent.nweon.com/進行檢索,你同時可以加入映維網AR/VR專利交流微信群(詳見文末)。
1. 《Meta Patent | Optical assembly with high-refractive-index fresnel lens and chromatic aberration corrector(Meta專利:具有高折射率菲涅耳透鏡和色差校正器的光學組件)》

在一個實施例中,專利描述的光學組件包括菲涅耳透鏡和衍射光學元件。菲涅耳透鏡包括折射率大于1.9的高折射率材料。衍射光學元件與菲涅耳透鏡光學耦合,以補償菲涅耳透鏡引起的色差。
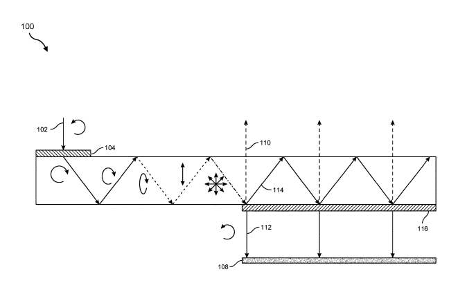
2. 《Meta Patent | Devices and systems for light-recycling waveguides(Meta專利:用于光回收波導的設備和系統)》

......(全文 9270 字,剩余 9010 字)
映維網會員請登錄SCC板塊閱讀完整文章
PICO公司員工可聯系映維網免費獲取權限

