團隊今年規劃的出貨量是10萬臺(中國AI網 2025年06月26日)根據韓國媒體The Elec,三星正在討論把索尼和Samsung Display作為“無限”頭顯的OLEDoS面板供應商,其中索尼是第一供應商。另外,團隊今...
-
-
售價399.99美元 (中國AI網 2025年06月24日)Meta和Xbox聯合推出了一款特別版VR頭顯——Meta Quest 3S Xbox限量版,售價399.99美元。套裝內含128GB的定制版Quest 3S(采用...
-
為新視圖合成實現快速和高質量的結果(中國AI網 2025年07月03日)在一項研究中,Meta團隊提出了一種RayGS硬件柵格化渲染方法,目標是為新視圖合成實現快速和高質量的結果。解決方案是第一個能夠以足夠高的幀率渲染Ray...
-
提供氣候風險教育和保險培訓(中國AI網 2025年06月30日)在一個越來越難以預測的世界里,農民能承受忽視氣候風險的后果嗎?隨著氣候變化加劇,農民需要比傳統方法更多的方法來保障他們的未來。這就是創新的切入點。借助PICO頭...
-
反射抑制(中國AI網 2025年06月23日)對于波導式AR眼鏡,一個或多個耦入器,出瞳擴展器和耦出器作為一組反射面在波導中實現。通常,反射面集合是將反射涂層應用于棱鏡陣列(即每個棱鏡的正面)的活動面而制成。理想情況下,每個...
-
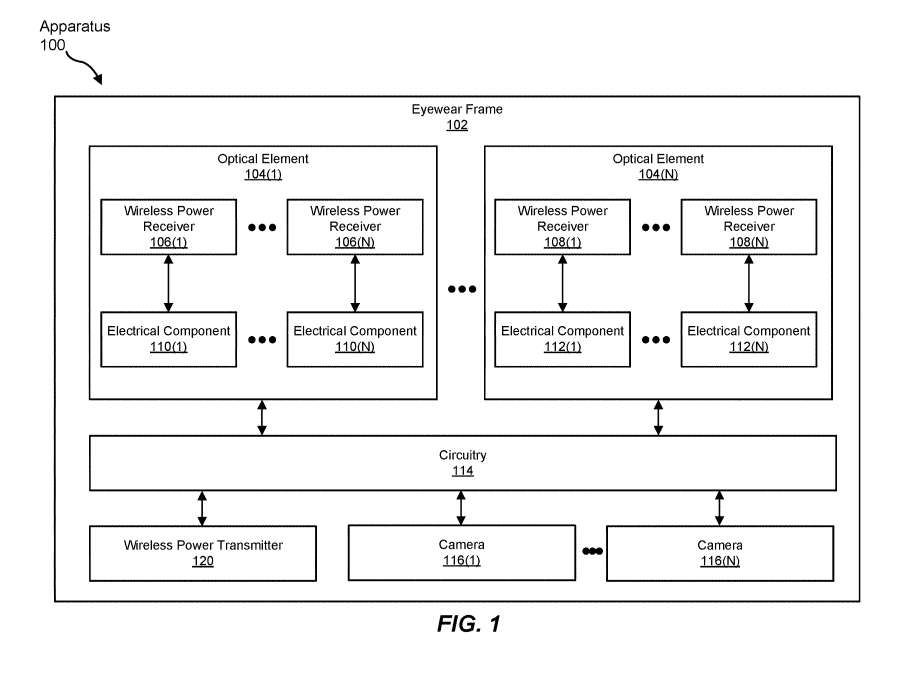
無線電力傳輸(中國AI網 2025年07月02日)目隨著頭戴式顯示器變得越來越小、越來越復雜,典型的眼球追蹤系統的物理組件可能會出現問題。在AR眼鏡中,眼動追蹤系統可以包括多個位于透鏡并配置為將光線照射到用戶眼睛的LED。另...
-
《Drop Dead: The Cabin》將于今年10月登陸Steam(中國AI網 2025年07月03日)Meta Quest平臺的熱門多人末日求生游戲《Drop Dead: The Cabin》將于今年10月登陸Ste...
-
涉及頭顯形態和眼鏡形態Vision Pro QQ群交流:653565822(中國AI網 2025年06月30日)郭明錤今天發文分享了蘋果的頭戴式設備路線圖,涉及頭顯形態和眼鏡形態。...
-
扎克伯格強調AR眼鏡是值得在未來十年投資的領域。(中國AI網 2025年06月26日)在日前的Stripe Sessions 2025大會中,Meta首席執行官馬克·扎克伯格強調AR眼鏡是值得在未來十年投資的領域。...
-
PICO 4 Ultra 5.14.0.U系統公測招募(中國AI網 2025年07月03日)PICO即將啟動PICO OS 5.14.0.U系統公測活動,所以團隊目前正邀請擁有PICO 4 Ultra的用戶參與到本次公測活動...










