本日報由AI生成,可能存在信息錯誤,具體可查看原文。
? Meta新款帶顯示智能眼鏡或命名Meta Celeste,配套腕帶控制器Ceres曝光

Meta計劃推出的帶屏智能眼鏡Hypernova可能命名為Meta Celeste,配套腕帶控制器代號Ceres。該產品基于Ray-Ban智能眼鏡設計,右透鏡下方配備顯示屏,支持肌電手勢控制和觸覺反饋。社區挖掘的固件信息顯示設備將支持手勢操作教程和專屬游戲Hypertrail,延續了Meta在可穿戴設備領域的交互創新方向。產品預計2025年發布,采用第一方品牌策略。
? Steam 6月數據:Meta Quest 3異常暴跌6.38%

Valve日前公布了2025年6月份的Steam硬件和軟件調查數據。其中,VR頭顯用戶占比減少0.19%至1.41%。在頭顯方面,Meta Quest 3暴跌-6.38%至16.28%。目前未明具體的原因。但值得注意的是,Steam硬件調查以往曾出現類似的暴跌暴漲現象,例如Meta Quest 2在2022年8月占比出現異常暴減,從上月50.32%大幅降至42.04%,其間減少-8.28%;Steam VR用戶在2022年5月環比暴增+1.35%,從4月的1.89%上漲至3.24%。然后又在6月“爆減”-1.37%,7月又異常暴增4.8%。
? 索尼專利提出基于眼動追蹤的智能閱讀控制模式

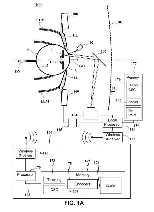
索尼在最新專利中公布了一種通過暗瞳追蹤技術實現的閱讀控制方案,該系統通過分析用戶275ms以上的注視停留及7-9字符的掃視運動等特征模式(如圖2C所示階梯狀眼動軌跡),自動觸發閱讀優化功能。在識別到連續3.6秒的閱讀行為后,系統可啟動自動滾動、文本聚焦等輔助功能,并支持根據文檔類型(如地圖、電子表格)適配不同交互邏輯。該技術采用低功耗紅外傳感器,結合頭部姿態補償算法(如圖5A-H所示),在用戶偏離閱讀模式1秒后自動退出。專利文件顯示,該方案已隨2024年2月申請公開,有望提升VR/AR設備的文本閱讀體驗。
? 索尼專利提出多模態手指追蹤技術擴展游戲控制器功能

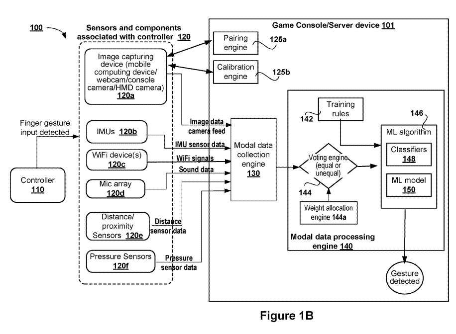
索尼在最新專利中公布了一種基于多模態數據融合的控制器輸入驗證系統,通過整合IMU、WiFi信號反射、麥克風陣列等6類傳感器數據構建集成模型,實現對手指手勢的高精度識別(如虛擬按鈕點擊識別準確率達92%)。該技術可定義任意表面為虛擬輸入區,支持殘疾玩家通過定制手勢交互,同時允許用戶在游戲過程中不中斷操作即可控制背景應用(如音樂播放)。方案采用服務器端實時處理,延遲控制在50ms內,已隨2024年12月專利申請公開,有望應用于PSVR2等下一代交互設備。
? 紐約大學與Meta合作開發注視點實例分割框架FovealSeg

紐約大學與Meta團隊提出新型實例分割框架FovealSeg,通過實時追蹤AR/VR用戶注視點,僅對視野內目標區域進行分割處理,在ADE20K和LVIS數據集上分別實現0.56和0.54的IoU值。該方案采用降采樣技術(32×64分辨率)與高斯核注視定位,計算延遲降至84毫秒,較傳統方法SegFormer-B5提速20倍以上,FLOPs降低1.96倍。實驗證實注視坐標作為先驗信息可使分割精度提升0.3 IoU,相關論文《Foveated Instance Segmentation》為資源受限設備實現實時交互提供新思路。
? 范德比爾特大學研發柔性熱反饋裝置提升AR沉浸感

美國范德比爾特大學團隊開發了一種面向增強現實的可穿戴熱反饋裝置,該設備采用3×3熱電模塊陣列與閉環溫控系統,通過手掌間接傳遞溫差信號,支持動態時空熱模式渲染。實驗證實其能準確區分虛擬物體溫度(JND測試達±1.2℃)并識別移動熱源軌跡,用戶測試顯示其顯著提升AR交互真實感。該研究提出三大設計準則——間接反饋、真實溫度傳遞與時空渲染,為AR熱反饋技術建立新標準,相關成果發表于論文《Immersive and Wearable Thermal Rendering for Augmented Reality》。
? 華南理工大學團隊提出ROG框架提升VR人機交互真實感

華南理工大學聯合琶洲實驗室和騰訊研發的ROG框架,通過邊界聚焦點采樣與泊松圓盤采樣結合的方式優化物體幾何表示,并構建交互距離場(IDF)量化人-物時空關系。該方案集成擴散模型與時空注意力機制,在運動生成階段通過IDF矩陣迭代優化動作軌跡,實驗顯示其生成的人-物交互動作在物理合理性與語義準確性上超越現有方法,為VR內容創作提供更高保真度的動作合成技術支持。相關論文《Guiding Human-Object Interactions with Rich Geometry and Relations》已發表。
? Meta為Horizon OS開發家庭影院環境 支持多人觀影與游戲

Meta正在為Horizon OS開發集成社交觀影與游戲功能的家庭影院環境,社區曝光的原型圖顯示其借鑒了VR社交應用Bigscreen的核心體驗。該環境計劃彌補現有”Theater View”單人模式與Horizon Worlds直播活動的功能斷層,但可能面臨內容版權管理的技術挑戰。此前Meta曾嘗試復刻Virtual Desktop等第三方應用功能,此次開發被視為提升Horizon OS用戶留存率的關鍵舉措,具體發布時間尚未公布。
? 韓國XR游戲開發商Quantum Universe獲25億韓元投資

韓國XR游戲開發商Quantum Universe近日獲得韓國中小企業銀行和ID Ventures共計25億韓元(約1316萬人民幣)的投資。該公司近期推出的免費VR游戲《The ChicKing Dead》采用類似《Gorilla Tag》的玩法機制,玩家扮演肥雞在反烏托邦世界對抗喪尸。Quantum Universe表示,這筆投資證明了市場對其發展潛力的認可,未來將在與Meta的合作下繼續擴展XR游戲業務。公司團隊已吸納來自騰訊、藍洞工作室等知名游戲企業的人才。
? Another Axiom團隊分享《Orion Drift》開發理念與社區驅動設計經驗

《Gorilla Tag》開發團隊Another Axiom在新作《Orion Drift》中延續社區共建理念,通過早期測試版本收集玩家反饋,構建支持200人同時在線的太空站社交競技場。游戲融合零重力運動、跑酷及球類競技玩法,采用定制物理引擎實現多重力環境交互。團隊透露,該作自2024年10月上線Meta Horizon商店后已獲4.6萬條評價,其開發過程驗證了具身交互與用戶共創在VR內容設計中的核心價值。
? PICO視頻本周上新:穿越旗袍古韻、海底療愈與星際哲思

PICO視頻于2025年7月4日至6日陸續推出三部VR主題影片:通過3D實拍技術還原舊上海旗袍風韻的《旗袍輕旋》,4K超高清拍攝珊瑚魚群的助眠療愈片《水族館》,以及基于天文數據探討地外文明的科普片《穿越星環》。用戶可通過PICO VR助手APP或一體機預約觀看,影片均支持頭部追蹤交互,其中海底主題特別集成ASMR環境音效。此次更新聚焦人文與自然領域,展現平臺在影視級VR內容制作的技術應用。

